Запчасти Komatsu PW30T-1 ОТВАЛ(№-) РАБОЧЕЕ ОБОРУДОВАНИЕ

Схема запчастей Komatsu PW30T-1 - ОТВАЛ(№-) РАБОЧЕЕ ОБОРУДОВАНИЕ
FIT
1:1
100%

Артикул

Название

Примечание

Количество

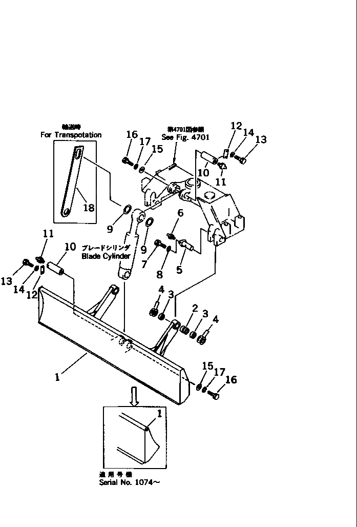
|1

21E-71-00011

BLADE ASS'Y

|1

21E-71-00010

BLADE ASS'Y

1

BLADE

|1

BLADE

2

07143-10304

BUSHING

3

07145-00035

SEAL,DUST

4

20S-71-11250

SPACER¤ 2.3MM

|4

20R-70-11270

SPACER¤ 1.0MM

5

21E-71-11240

PIN

6

07020-00900

FITTING,GREASE

7

01010-51225

BOLT

8

01643-31232

WASHER

9

201-70-23140

SPACER¤ 1.0MM

10

21E-71-11211

PIN

11

07020-00900

FITTING,GREASE

12

113-70-21280

LOCK

13

01010-51025

BOLT

14

01602-21030

WASHER,SPRING

15

21E-71-11220

PLATE

16

01010-51020

BOLT

17

01602-21030

WASHER,SPRING

18

21E-98-11160

PLATE,(FOR TRANSPOTATION)

Выбрано товаров: 22