Запчасти Komatsu PW30T-1 HAND НАСОС(№8-) РАБОЧЕЕ ОБОРУДОВАНИЕ

Схема запчастей Komatsu PW30T-1 - HAND НАСОС(№8-) РАБОЧЕЕ ОБОРУДОВАНИЕ
FIT
1:1
100%

Артикул

Название

Примечание

Количество

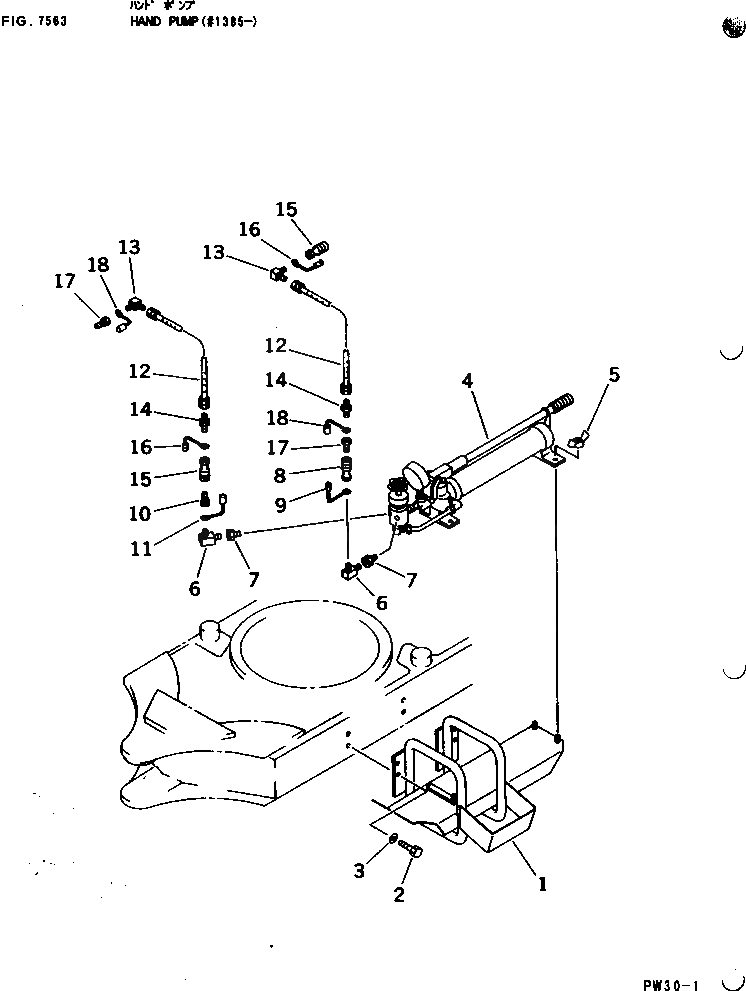
1

21F-914-1620

BRACKET

2

01010-51230

BOLT

3

01602-21236

WASHER

4

20T-914-4711

PUMP

5

20T-914-4650

NUT

6

20D-68-11670

ELBOW

7

07326-10302

ADAPTER

8

201-62-27750

COUPLING

9

20T-914-4540

PLUG

10

201-62-27760

COUPLING

11

20T-914-4550

PLUG

|12

20T-914-4500

HOSE ASS'Y

|12

20T-914-4600

HOSE ASS'Y

12

07086-20316

HOSE

13

176-62-15480

ELBOW

14

176-62-15490

NIPPLE

15

201-62-27750

COUPLING

16

20T-914-4540

PLUG

17

201-62-27760

COUPLING

18

20T-914-4550

PLUG

Выбрано товаров: 20