Запчасти Komatsu PW30T-1 КОЖУХ МОСТА (ЗАДН.)(№-) ПЕРЕДАЧА¤ МОСТ И ПОВОРОТН.

Схема запчастей Komatsu PW30T-1 - КОЖУХ МОСТА (ЗАДН.)(№-) ПЕРЕДАЧА¤ МОСТ И ПОВОРОТН.
FIT
1:1
100%

Артикул

Название

Примечание

Количество

|1

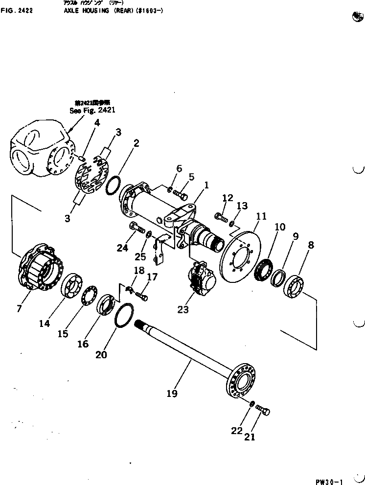
21E-22-00011

AXLE ASS'Y

1

21F-22-12112

CASE

2

07000-05100

O-RING

3

21E-22-05010

SHIM KIT

|3

SHIM¤ 0.15MM

|3

SHIM¤ 0.2MM

|3

SHIM¤ 0.5MM

4

04020-01024

PIN,DOWEL

5

01010-51235

BOLT

6

01602-21236

WASHER,SPRING

7

21F-22-12161

HUB

8

06002-32015

BEARING

9

21E-22-11460

SPACER

10

21E-22-11500

SEAL

11

21F-33-12520

ROTOR

12

01010-51235

BOLT

13

01643-51232

WASHER,SPRING

14

06002-30214

BEARING

15

21E-22-11220

PLATE

16

21E-22-11210

NUT

17

01016-50825

BOLT

18

21E-22-11710

PLATE

19

21F-22-12151

SHAFT

20

07000-02135

O-RING

21

01010-51240

BOLT

22

01643-31232

WASHER

23

21F-33-11702

DISC BRAKE ASS'Y \

|23

21F-33-11701

DISC BRAKE ASS'Y \

24

01090-81450

BOLT

25

01643-31445

WASHER

Выбрано товаров: 30