Запчасти Komatsu PW30T-1 УПРАВЛ-Е ТРАНСМИССИЕЙ МЕХАНИЗМ СИСТЕМА УПРАВЛЕНИЯ¤ ОСНОВНАЯ РАМА И ШАССИ

Схема запчастей Komatsu PW30T-1 - УПРАВЛ-Е ТРАНСМИССИЕЙ МЕХАНИЗМ СИСТЕМА УПРАВЛЕНИЯ¤ ОСНОВНАЯ РАМА И ШАССИ
FIT
1:1
100%

Артикул

Название

Примечание

Количество

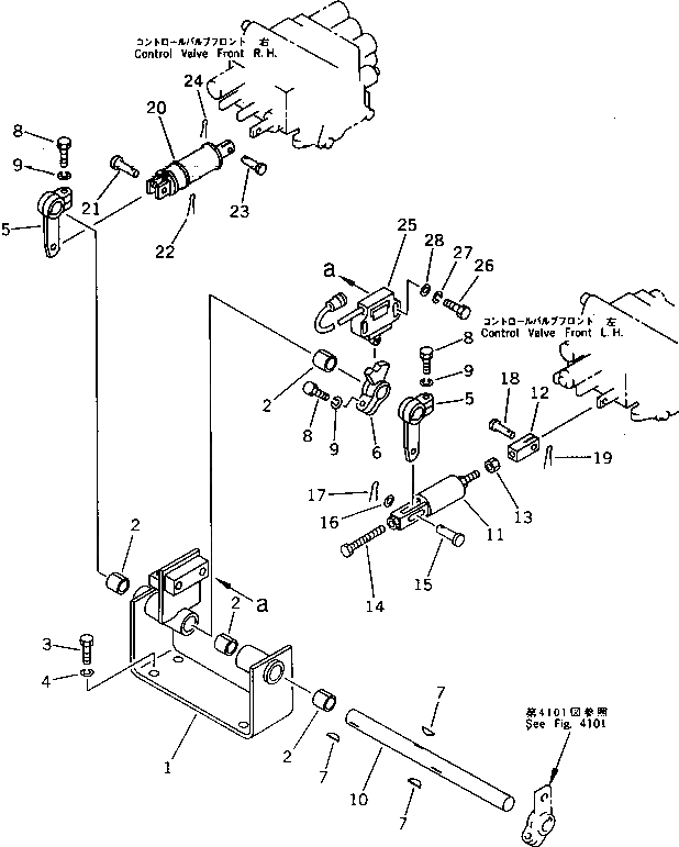
1

21E-43-17260

BRACKET

2

09350-02020

BUSHING

3

01010-51025

BOLT

4

01602-21030

WASHER,SPRING

5

21E-43-17270

LEVER

6

21E-43-19410

LEVER

7

04010-00519

KEY

8

01010-50830

BOLT

9

01602-20825

WASHER,SPRING

10

21E-43-17280

SHAFT

11

21E-43-19271

ROD

12

21E-43-12191

YOKE

13

01580-10806

NUT

14

01016-50830

BOLT

15

04205-10825

PIN

16

01641-20812

WASHER

17

04050-12012

PIN,COTTER

18

04205-10520

PIN

19

04050-11210

PIN,COTTER

20

21E-43-19261

ROD

21

04205-10828

PIN

22

04050-12012

PIN,COTTER

23

04205-10520

PIN

24

04050-11210

PIN,COTTER

25

22W-06-15861

SWITCH,SAFETY

26

01010-51035

BOLT

27

01602-21030

WASHER,SPRING

28

01643-31032

WASHER

Выбрано товаров: 28