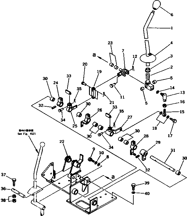
Запчасти Komatsu PW30T-1 РЫЧАГ УПРАВЛЕНИЯ ПОВОРОТОМ (/) (С QUICK SHIFTER) (ДЛЯ ЯПОН.) СИСТЕМА УПРАВЛЕНИЯ¤ ОСНОВНАЯ РАМА И ШАССИ

Схема запчастей Komatsu PW30T-1 - РЫЧАГ УПРАВЛЕНИЯ ПОВОРОТОМ (/) (С QUICK SHIFTER) (ДЛЯ ЯПОН.) СИСТЕМА УПРАВЛЕНИЯ¤ ОСНОВНАЯ РАМА И ШАССИ
FIT
1:1
100%

Артикул

Название

Примечание

Количество

1

21E-43-13410

LEVER

2

09340-10130

SPRING

3

20S-43-11250

SPACER

4

20S-43-11370

COVER

5

203-43-31420

BUSHING

6

20D-43-11370

KNOB

7

21E-43-13420

YOKE

8

22W-43-17330

WASHER

9

01010-50816

BOLT

10

01641-20812

WASHER

11

04205-01450

PIN

12

04050-14022

PIN,COTTER

13

207-43-11170

JOINT

14

01643-31032

WASHER

15

04252-21061

END,ROD

16

01582-11008

NUT

17

01010-51030

BOLT

18

01643-31032

WASHER

19

21E-43-13540

YOKE

20

04205-10822

PIN

21

04050-12012

PIN,COTTER

22

21E-43-17610

BRACKET

23

203-43-31420

BUSHING

24

21E-43-13450

LEVER

25

21E-43-13430

LEVER

26

21E-43-13441

LEVER

|26

21E-43-13440

LEVER

27

21E-43-13460

LEVER

28

21E-43-13470

LEVER

29

21E-43-13480

LEVER

30

195-61-34130

BEARING

31

21E-43-13490

PIN

32

04025-00640

PIN,SPRING

33

21E-43-13520

PLATE

34

04205-10625

PIN

35

04050-11612

PIN,COTTER

36

21E-43-13530

PIN

37

01010-51050

BOLT

38

01580-11008

NUT

39

01010-51035

BOLT

40

01641-21016

WASHER

Выбрано товаров: 0