Запчасти Komatsu PW30T-1 КАБИНА (/) ЧАСТИ КОРПУСА

Схема запчастей Komatsu PW30T-1 - КАБИНА (/) ЧАСТИ КОРПУСА
FIT
1:1
100%

Артикул

Название

Примечание

Количество

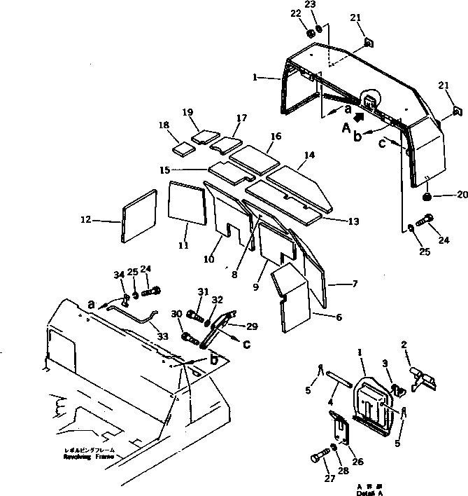
|1

21E-54-00010

HOOD ASS'Y

1

21E-54-11210

HOOD

2

20S-54-21450

LEVER

3

20T-54-26430

SPRING

4

20S-54-21460

PIN

5

04050-13018

PIN,COTTER

6

20S-54-21210

SHEET

7

20S-54-21220

SHEET

8

21E-54-11360

SHEET

9

21E-54-11350

SHEET

10

20S-54-21420

SHEET

11

20S-54-21250

SHEET

12

21E-54-11290

SHEET

13

21E-54-11440

SHEET

14

21E-54-11390

SHEET

15

21E-54-11380

SHEET

16

21E-54-11410

SHEET

17

21E-54-11370

SHEET

18

21E-54-11430

SHEET

19

21E-54-11420

SHEET

20

203-54-32260

STOPPER

21

362-54-15160

REFLECTOR

22

01580-10605

NUT

23

01643-30623

WASHER

24

01010-51020

BOLT

25

01602-21030

WASHER,SPRING

26

20R-54-21170

LOCK

27

01010-51025

BOLT

28

01602-21030

WASHER,SPRING

29

20R-54-21430

STAY

30

20R-54-21440

BOLT

31

20R-54-21450

BOLT

32

07005-01412

GASKET

33

20S-54-21142

BAR,TORSION

34

20S-54-21170

CLIP

Выбрано товаров: 35