Качественные детали и логистика
Оригинальные и аналоговые запчасти с доставкой по России, Казахстану и Беларуси
©2022 PartSell ООО "Система" ИНН 2463123282 ОГРН 1212400004838
Центральный офис: г. Красноярск, Академика Киренского, д.87, пом.4
Телефон: 8 (800) 777-65-74 Email: zakaz@partsell.ru
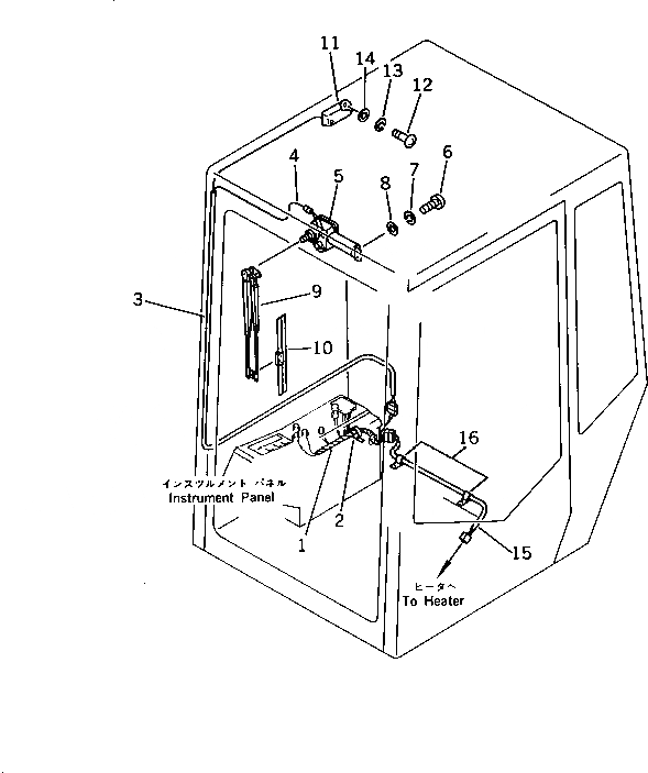
ELECTRLCAL СИСТЕМА (ДЛЯ КАБИНЫ)
№
Артикул
Название
Примечание
Количество
1
20S-06-21610
WIRE ASS'Y
2
08034-00414
BAND
3
20S-06-21620
4
20S-06-21420
5
20S-06-21290
MOTOR,WIPER
6
01220-40516
SCREW
7
01601-20513
WASHER,SPRING
8
01641-20508
WASHER
9
20S-06-13470
ARM,WIPER
10
20S-06-13430
BLADE,WIPER
11
08141-01200
LAMP,ROOM
12
01220-40416
13
01601-20410
14
01641-20405
15
20S-06-21440
WIRE,(FOR CAR HEATER AND DEFROSTER)
16
08036-01610
CLIP,(FOR CAR HEATER)
|16
08036-01414
CLIP,(FOR DEFROSTER)
Выбрано товаров: 0