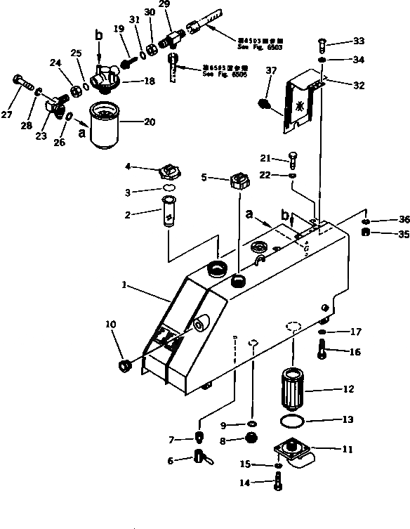
Запчасти Komatsu PW30T-1 ТОПЛИВН.¤ ГИДР. БАК. AND ФИЛЬТР. УПРАВЛ-Е РАБОЧИМ ОБОРУДОВАНИЕМ

Схема запчастей Komatsu PW30T-1 - ТОПЛИВН.¤ ГИДР. БАК. AND ФИЛЬТР. УПРАВЛ-Е РАБОЧИМ ОБОРУДОВАНИЕМ
FIT
1:1
100%

Артикул

Название

Примечание

Количество

1

21E-60-11110

TANK

2

07056-16415

STRAINER

3

07057-03266

RING,SNAP

4

07050-20920

CAP ASS'Y,FUEL TANK

|4

07091-10920

CAP,FUEL TANK (WITH LOCK)

|4

07050-20922

GASKET

5

07051-20000

CAP,HYDRAULIC TANK

|5

07092-00000

CAP,HYDRAULIC TANK (WITH LOCK)

|5

07051-00003

GASKET

6

07700-40240

VALVE

7

113-40-23110

NIPPLE

8

07044-12412

PLUG

9

07002-02434

O-RING

10

20N-60-11142

GAUGE,OIL

|10

20N-60-11141

GAUGE,OIL

11

21E-62-11111

TUBE

12

21E-60-11130

STRAINER

13

07000-02110

O-RING

14

01010-51020

BOLT

15

01602-21030

WASHER,SPRING

16

01010-51230

BOLT

17

01605-11226

WASHER

18

113-60-33110

BASE

19

103-60-23260

VALVE

20

113-60-33130

CARTRIDGE

21

01010-51025

BOLT

22

01602-21030

WASHER,SPRING

23

21E-62-11521

ELBOW

|23

21E-62-11520

ELBOW

24

113-60-23120

NUT

25

07002-03334

O-RING

26

07000-03035

O-RING

27

01010-51030

BOLT

28

01602-21030

WASHER,SPRING

29

21E-62-11510

ELBOW

30

113-60-23120

NUT

31

07002-03334

O-RING

32

21E-60-11141

COVER

|32

21E-60-11140

COVER

33

01220-40510

SCREW

34

01641-20508

WASHER

35

01580-00504

NUT

36

01602-20513

WASHER,SPRING

37

09459-00000

LOCK

Выбрано товаров: 44