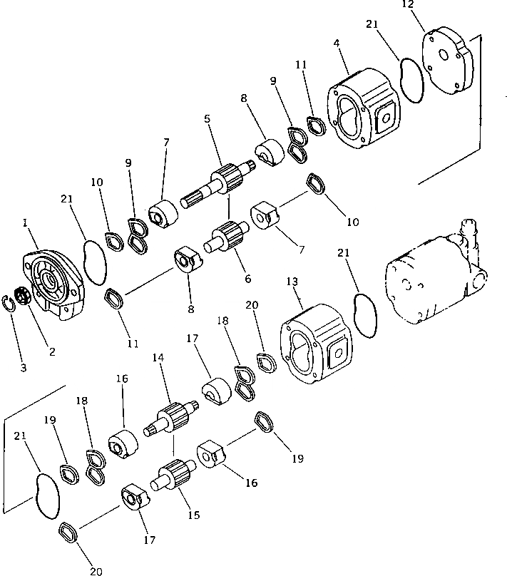
Запчасти Komatsu PW30T-1 ГИДР. НАСОС. (/) УПРАВЛ-Е РАБОЧИМ ОБОРУДОВАНИЕМ

Схема запчастей Komatsu PW30T-1 - ГИДР. НАСОС. (/) УПРАВЛ-Е РАБОЧИМ ОБОРУДОВАНИЕМ
FIT
1:1
100%

Артикул

Название

Примечание

Количество

|1

21E-60-12110

PUMP ASS'Y

1

KB20121-30705

FLANGE

2

SEAL,OIL (K5)

3

RING,SNAP (K5)

4

BODY

|5

KB2012B-40062

GEAR ASS'Y

5

GEAR,DRIVE

6

GEAR,DRIVEN

7

BUSHING

8

BUSHING

9

SEAL (K5)

10

PACKING (K5)

11

PACKING (K5)

12

KB20122-40112

PLATE,WITH COUPLING

13

BODY

|14

KB2012B-50013

GEAR ASS'Y

14

GEAR,DRIVE

15

GEAR,DRIVEN

16

BUSHING

17

BUSHING

18

SEAL (K5)

19

PACKING (K5)

20

PACKING (K5)

21

SEAL (K5)

Выбрано товаров: 24