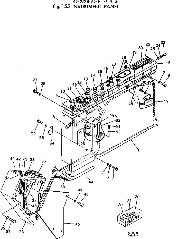
Запчасти Komatsu PW60-1 ПАНЕЛЬ ПРИБОРОВ(№-.) КОМПОНЕНТЫ ДВИГАТЕЛЯ И ЭЛЕКТРИКА

Схема запчастей Komatsu PW60-1 - ПАНЕЛЬ ПРИБОРОВ(№-.) КОМПОНЕНТЫ ДВИГАТЕЛЯ И ЭЛЕКТРИКА
FIT
1:1
100%

Артикул

Название

Примечание

Количество

1

20B-06-21133

COVER

1

20B-06-21132

COVER

2

01010-30820

BOLT

3

01602-00825

WASHER

4

01643-30823

WASHER

5

20B-06-21143

PANEL

5

20B-06-21142

PANEL

6

01010-30816

BOLT

7

01602-00825

WASHER

8

08061-00000

SWITCH,EMERGENCY

9

600-815-1361

SIGNAL,HEATER

10

08143-12400

LAMP,PANEL

11

203-06-21131

GAUGE,WATER TEMPERATURE

12

08060-00020

SWITCH,WORK LAMP

13

08060-00040

SWITCH,ROOM LAMP

14

08060-20010

SWITCH,LAMP

15

08086-00000

SWITCH,STARTING

16

08183-00000

SWITCH,WIPER

17

09481-02400

SWITCH,HEATER

18

08060-00050

SWITCH,PARKING LAMP

19

08043-16000

BOX,FUSE

20

08040-01000

FUSE, 10A

21

08040-04000

FUSE, 40A

22

205-06-62310

RADIO

22

205-06-51210

RADIO

23

01220-40510

SCREW

23

01220-40508

SCREW

23

01220-40508

SCREW

24

01601-00513

WASHER

24

01601-00513

WASHER

25

01641-20508

WASHER

25

01641-20508

WASHER

26

08077-22400

FLASHER

27

01010-30816

BOLT

28

01602-00825

WASHER

28A

01580-10806

NUT

29

08161-02400

RELAY,HORN

30

01220-40612

SCREW

31

01602-00619

WASHER

32

20B-06-21333

WIRE ASS'Y

33

20B-06-22210

PANEL

34

01010-51016

BOLT

35

01602-21030

WASHER

36

20B-06-21210

TACHOMETER

37

20B-06-21220

CABLE

38

08153-12400

LAMP,TURN SIGNAL

39

125-06-22210

LAMP,OIL PRESSURE

40

125-06-22220

LAMP,CHARGE

41

08147-32400

LAMP,WORKING

42

08147-32402

LAMP,PARKING

43

20B-06-21312

WIRE ASS'Y

44

20B-06-21342

WIRE ASS'Y

44

20B-06-21340

WIRE ASS'Y

45

20B-06-22220

COVER

46

01010-50816

BOLT

47

01602-20825

WASHER

48

201-06-21430

WIRE

49

205-06-21440

CONDENSER

49

201-06-51290

CONDENSER

50

08035-03012

CLIP

51

01235-40510

SCREW

52

01641-20508

WASHER

53

20B-62-21170

PLATE

54

145-01-42120

CLIP

55

01010-31225

BOLT

56

01640-21223

WASHER

Выбрано товаров: 66