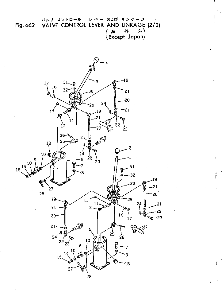
Запчасти Komatsu PW60-1 КЛАПАН РЫЧАГ УПРАВЛ-Я И МЕХАНИЗМ (/) (КРОМЕ ЯПОН.) УПРАВЛ-Е РАБОЧИМ ОБОРУДОВАНИЕМ

Схема запчастей Komatsu PW60-1 - КЛАПАН РЫЧАГ УПРАВЛ-Я И МЕХАНИЗМ (/) (КРОМЕ ЯПОН.) УПРАВЛ-Е РАБОЧИМ ОБОРУДОВАНИЕМ
FIT
1:1
100%

Артикул

Название

Примечание

Количество

1

201-43-29110

LEVER

2

205-43-62570

KNOB

3

201-43-21550

LEVER

4

205-43-62560

SWITCH

5

201-43-21392

STAND,R.H.

6

201-43-21392

STAND,R.H.

7

01010-31025

BOLT

8

01602-01030

WASHER

9

06120-01612

BEARING

10

06122-01603

SEAL

11

203-43-00020

PIN ASS'Y

11

PIN

12

07020-00900

FITTING

13

09360-01416

BUSHING

14

01641-21626

WASHER

15

04064-01610

RING

16

203-43-21140

PIN

17

04065-01410

RING

18

09415-02512

CAP

19

203-43-21110

JOINT

20

04245-01029

ROD

21

01582-01008

NUT

22

04250-41056

END

23

04205-01032

PIN

24

04050-03015

PIN

25

201-43-21420

LEVER

25

201-43-21450

LEVER

26

201-43-21440

SPRING

27

201-43-21431

LEVER

28

04025-00432

PIN

29

201-43-21361

BELLOWS

30

201-43-21411

COVER

31

01370-00406

SCREW

32

01641-20405

WASHER

Выбрано товаров: 34