Запчасти Komatsu PW60-1 ЭЛЕКТРИКА (/) КОМПОНЕНТЫ ДВИГАТЕЛЯ И ЭЛЕКТРИКА

Схема запчастей Komatsu PW60-1 - ЭЛЕКТРИКА (/) КОМПОНЕНТЫ ДВИГАТЕЛЯ И ЭЛЕКТРИКА
FIT
1:1
100%

Артикул

Название

Примечание

Количество

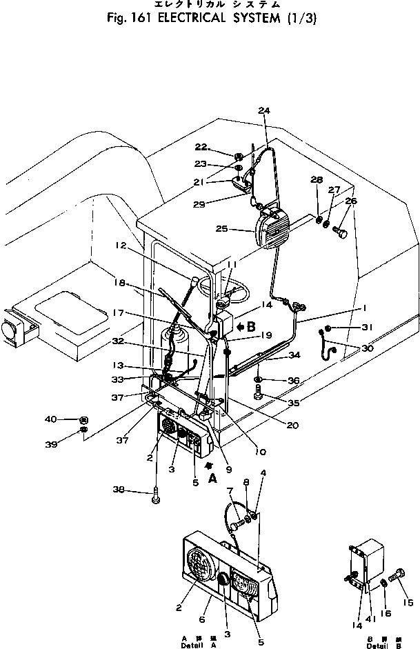
1

20B-06-21342

WIRE ASS'Y

1

20B-06-21340

WIRE ASS'Y

2

381-897072-3

LAMP ASS'Y,HEAD

2

381-985652-1

BULB

3

08139-02400

LAMP,PARKING

3

08111-02430

BULB, 3W

3

08139-00009

LENS

4

20B-06-21470

WIRE

5

08130-62400

LAMP ASS'Y,COMBINATION, L.H.

5

08105-12420

BULB, 25W

5

08110-12410

BULB, 12W

5

08130-60007

LENS,AMBER AND ACHROMATIC

5

08130-60008

LENS,AMBER

6

20B-06-22110

BRACKET,L.H.

7

01010-31025

BOLT

8

01602-01030

WASHER

9

113-06-23250

SWITCH,LIMIT

10

20B-06-22140

BRACKET

11

08075-60000

SWITCH,TURN SIGNAL

12

203-06-21140

SWITCH,HORN

13

20B-06-21420

WIRE

14

08180-02410

MOTOR ASS'Y

15

01010-30616

BOLT

16

01602-00619

WASHER

17

08184-20350

ARM,WIPER

18

08185-00400

BLADE,WIPER

19

201-06-21210

WIRE ASS'Y

20

201-06-21191

WIRE ASS'Y

21

08142-22400

LAMP,ROOM

21

08110-12410

BULB, 12W

22

01580-00605

NUT

23

01602-00619

WASHER

24

201-06-21240

WIRE

25

201-06-21410

SPEAKER

25

205-06-51220

SPEAKER

26

01010-30612

BOLT

27

01602-00619

WASHER

28

01640-20610

WASHER

29

201-06-21420

ANTENNA

29

205-06-51230

ANTENNA

30

201-06-21280

WIRE

31

01580-01008

NUT

32

20B-06-21461

PLATE

33

08037-01008

GROMMET

34

20B-06-21440

PLATE

35

01010-31016

BOLT

36

01602-01030

WASHER

37

08036-01814

CLIP

38

01010-31020

BOLT

39

01602-01030

WASHER

40

01580-01008

NUT

41

201-06-21450

CONDENSER

41

201-06-51290

CONDENSER

Выбрано товаров: 53