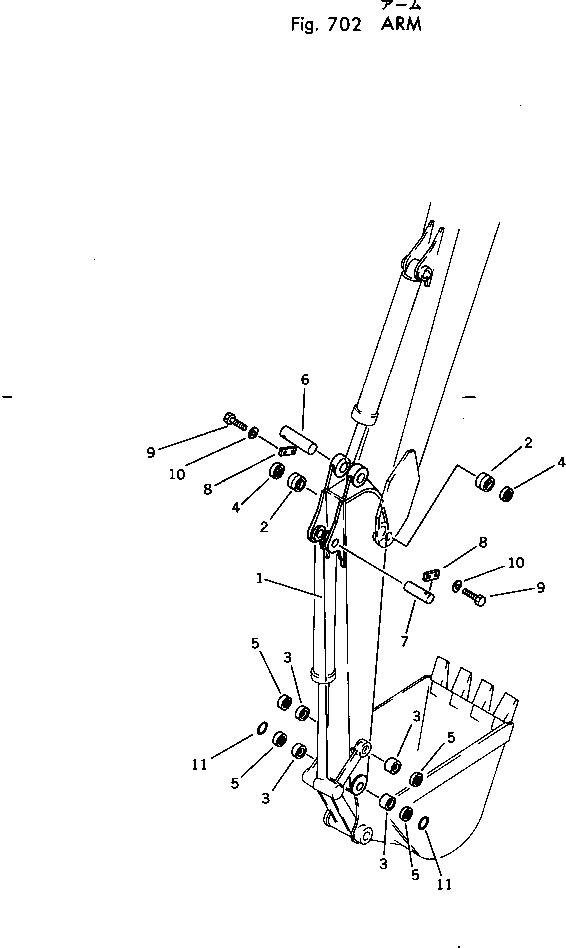
Запчасти Komatsu PW60-1 РУКОЯТЬ РАБОЧЕЕ ОБОРУДОВАНИЕ

Схема запчастей Komatsu PW60-1 - РУКОЯТЬ РАБОЧЕЕ ОБОРУДОВАНИЕ
FIT
1:1
100%

Артикул

Название

Примечание

Количество

|$0

201-70-00121

ARM ASS'Y

|$1

201-70-00120

ARM ASS'Y

1

ARM

1

ARM

2

201-70-21180

BUSHING

3

201-70-22140

BUSHING

4

140-09-12510

SEAL

5

130-09-12931

SEAL

6

201-70-22120

PIN

7

201-70-22130

PIN

8

04082-00212

LOCK

9

01010-31230

BOLT

10

01602-01236

WASHER

11

175-30-16210

O-RING

Выбрано товаров: 14