Запчасти Komatsu PW60-1 ЭЛЕКТРИКА (/) КОМПОНЕНТЫ ДВИГАТЕЛЯ И ЭЛЕКТРИКА

Схема запчастей Komatsu PW60-1 - ЭЛЕКТРИКА (/) КОМПОНЕНТЫ ДВИГАТЕЛЯ И ЭЛЕКТРИКА
FIT
1:1
100%

Артикул

Название

Примечание

Количество

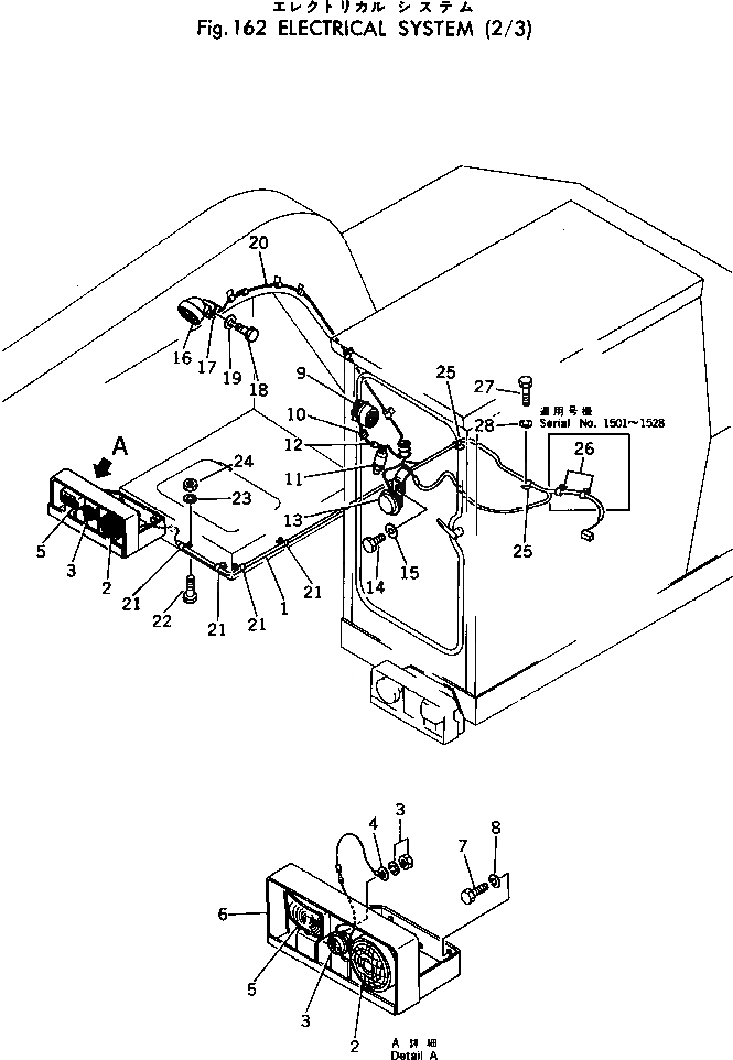
1

20B-06-21352

WIRE ASS'Y

1

20B-06-21350

WIRE ASS'Y

2

381-897072-3

LAMP ASS'Y,HEAD

2

381-985652-1

BULB

3

08139-02400

LAMP,PARKING

3

08111-02430

BULB, 3W

3

08139-00009

LENS

4

20B-06-21470

WIRE

5

08130-82400

LAMP ASS'Y,COMBINATION, R.H.

5

08105-12420

BULB, 25W

5

08110-12410

BULB, 12W

5

08130-60007

LENS,AMBER AND ACHROMATIC

5

08130-60008

LENS,AMBER

6

20B-06-22120

BRACKET,R.H.

7

01010-31025

BOLT

8

01602-01030

WASHER

9

08166-02480

BUZZER

10

20B-06-11350

WIRE

11

20B-06-11340

SWITCH,VACUUM

12

20B-06-11330

WIRE

13

175-06-39170

HORN

14

01010-30820

BOLT

15

01602-00825

WASHER

16

08125-02400

LAMP ASS'Y,WORKING

16

08107-02460

BULB, 60W

16

08125-00006

LENS

17

201-06-21110

BRACKET

18

01010-31225

BOLT

19

01602-01236

WASHER

20

201-06-21140

WIRE

21

08036-11210

CLIP

22

01010-31030

BOLT

23

01602-01030

WASHER

24

01580-01008

NUT

25

08036-02514

CLIP

25

08036-01414

CLIP

26

08036-11214

CLIP

27

01010-31020

BOLT

27

01010-31020

BOLT

28

01602-01030

WASHER

28

01602-01030

WASHER

Выбрано товаров: 41