Качественные детали и логистика
Оригинальные и аналоговые запчасти с доставкой по России, Казахстану и Беларуси
©2022 PartSell ООО "Система" ИНН 2463123282 ОГРН 1212400004838
Центральный офис: г. Красноярск, Академика Киренского, д.87, пом.4
Телефон: 8 (800) 777-65-74 Email: zakaz@partsell.ru
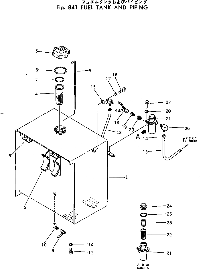
ТОПЛ. БАК И ТОПЛИВОПРОВОД
№
Артикул
Название
Примечание
Количество
1
201-04-29111
TANK,FUEL
2
201-04-21120
BRACKET
3
09455-13016
HINGE
4
07056-16415
STRAINER
5
07050-20920
CAP ASS'Y
07091-00920
CAP ASS'Y,(FOR VANDALISM PROTECTION)
6
07050-20922
GASKET
7
07057-03266
RING
8
201-04-29120
GAUGE
9
113-04-22120
VALVE
10
07323-30200
ELBOW
11
01010-51230
BOLT
12
01605-11226
WASHER
13
201-04-29130
HOSE
14
07281-00197
CLAMP
15
201-04-29140
16
01010-51020
17
01602-21030
18
07700-40240
19
07325-10200
NIPPLE
20
07326-10402
ADAPTER
|$21
07058-00000
STRAINER ASS'Y
21
07058-00001
CASE
22
07058-00002
23
07058-00003
SPRING
24
07058-00004
PLUG
25
07002-04234
O-RING
26
195-04-11430
27
01010-50820
28
01602-20825
Выбрано товаров: 0