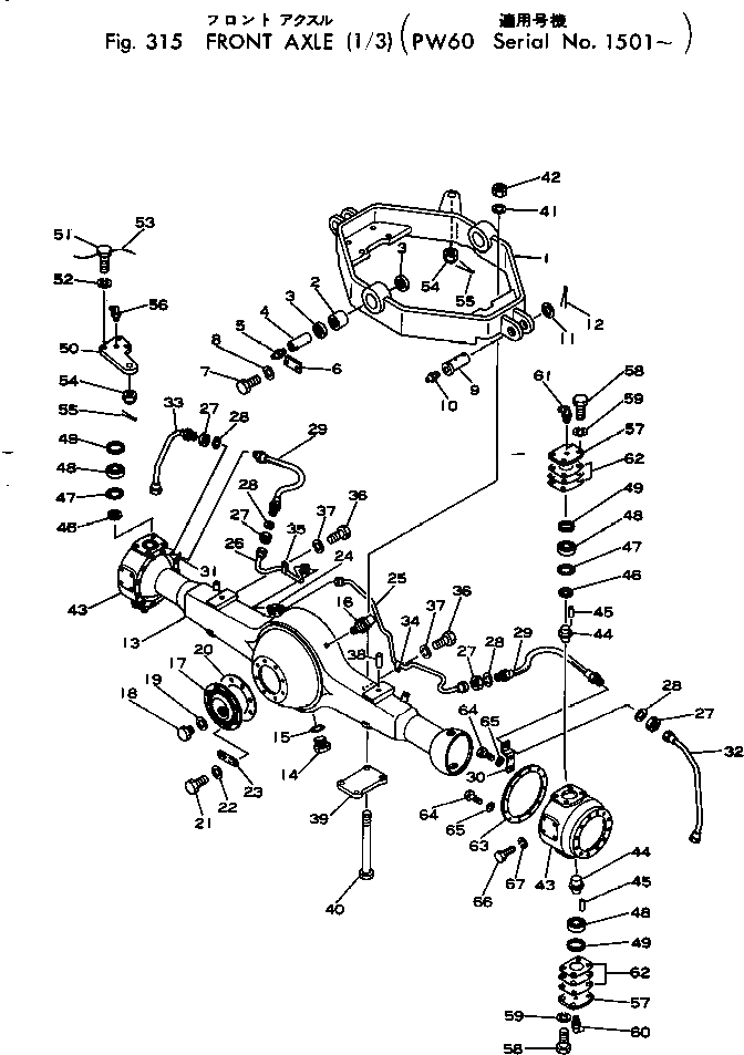
Запчасти Komatsu PW60-1 ПЕРЕДНИЙ МОСТ (/) МОСТ¤ КОЛЕСА И СИСТЕМАУПРАВЛЕНИЯ ПОВОРОТОМ

Схема запчастей Komatsu PW60-1 - ПЕРЕДНИЙ МОСТ (/) МОСТ¤ КОЛЕСА И СИСТЕМАУПРАВЛЕНИЯ ПОВОРОТОМ
FIT
1:1
100%

Артикул

Название

Примечание

Количество

|$0

20B-23-00110

BEAM ASS'Y

1

BEAM

2

20B-47-12120

BUSHING

3

01745-00055

SEAL

4

20B-23-21150

PIN

5

07020-00000

FITTING

6

04082-00206

LOCK

7

01010-31225

BOLT

8

01602-01236

WASHER

9

20B-27-11190

PIN

10

07020-00000

FITTING

11

111-14-11582

SPACER

12

04050-06055

PIN

13

20B-23-22190

HOUSING

14

IJ1-09604-0230

PLUG

15

IJ9-09920-6050

O-RING

16

IJ9-36122-0150

BREATHER

17

IJ9-42141-0590

COVER

18

IJ1-09604-0210

PLUG

19

IJ9-09920-3920

PACKING

20

IJ9-42142-0261

PACKING

21

IJ9-09800-8740

BOLT

22

IJ9-09572-0100

PACKING

23

IJ9-83996-4440

PLATE

24

IJ9-09903-4700

JOINT

25

IJ1-47412-2530

PIPE

26

IJ1-47412-2521

PIPE

27

IJ9-09840-2800

NUT

28

IJ9-0915-05120

WASHER

29

IJ1-09364-1371

TUBE

30

IJ9-47465-3400

PIPE

31

IJ9-47465-3390

BRACKET

32

IJ1-47412-8690

PIPE

33

IJ1-47412-8680

PIPE

34

IJ9-09917-2080

CLIP

35

IJ9-09917-2080

CLIP

36

IJ9-0204-06120

BOLT

37

IJ9-0915-05060

WASHER

38

04020-01228

PIN

39

20B-23-22180

PLATE

40

20B-23-22141

BOLT

41

01643-31645

WASHER

42

01803-11622

NUT

43

IJ9-43242-0310

KNUCKLE,L.H.

43

IJ9-43241-0370

KNUCKLE,R.H.

44

IJ9-43264-0090

PIN

45

IJ9-0816-05100

PIN

46

IJ9-43269-0070

WASHER

47

IJ9-43269-0080

RECEIVER

48

IJ9-00093-1810

BEARING

49

IJ9-43267-0040

PIECE

50

20B-23-22131

PLATE

51

01054-31455

BOLT

52

01602-01442

WASHER

53

04059-01625

WIRE

54

01593-02213

NUT

55

04050-05030

PIN

56

IJ9-0903-11100

FITTING

57

IJ9-43265-0070

COVER

58

IJ9-9206-14350

BOLT

59

IJ9-0915-05140

WASHER

60

IJ9-0903-12100

NIPPLE

61

IJ9-0903-12100

NIPPLE

62

IJ9-43266-0130

SHIM, 0.1MM

62

IJ9-43266-0140

SHIM, 0.2MM

62

IJ9-43266-0150

SHIM, 0.3MM

63

IJ1-09625-0040

SEAL

63

IJ9-0204-08160

BOLT

64

IJ9-0204-08180

BOLT

65

IJ9-0915-05080

WASHER

66

IJ9-9205-12180

BOLT

67

IJ9-0915-05120

WASHER

Выбрано товаров: 72