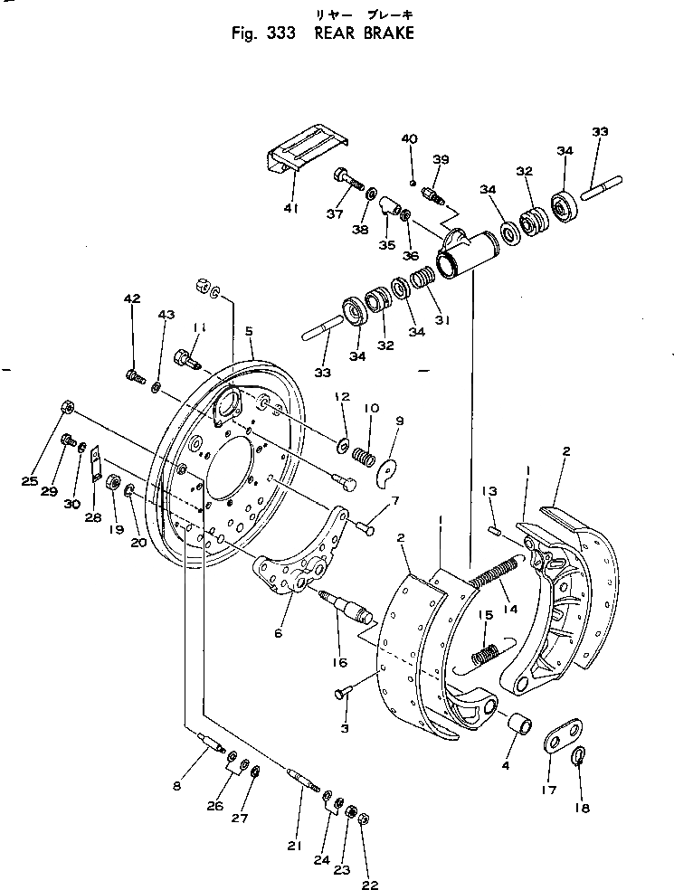
Запчасти Komatsu PW60-1 ЗАДН. ТОРМОЗ. МОСТ¤ КОЛЕСА И СИСТЕМАУПРАВЛЕНИЯ ПОВОРОТОМ

Схема запчастей Komatsu PW60-1 - ЗАДН. ТОРМОЗ. МОСТ¤ КОЛЕСА И СИСТЕМАУПРАВЛЕНИЯ ПОВОРОТОМ
FIT
1:1
100%

Артикул

Название

Примечание

Количество

|$0

IJ1-47100-3110

BRAKE ASS'Y

1

IJ1-47110-1230

BRAKE SHOE ASS'Y

2

IJ9-47115-5801

LINING,12MM

2

IJ9-47115-5811

LINING,13MM

3

IJ9-09871-0270

RIVET

4

IJ9-47112-0240

BUSHING

5

IJ1-47150-2030

COVER ASS'Y

6

IJ1-47137-0380

BRACKET

7

IJ9-0650-10480

RIVET

8

IJ9-47162-0060

PIN

9

IJ1-47165-0030

CAM

10

IJ9-09940-4740

SPRING

11

IJ9-47166-0280

SPINDLE

12

IJ9-09852-1250

WASHER

13

IJ9-09878-0620

PIN

14

IJ9-09942-4470

SPRING

15

IJ9-09942-4480

SPRING

16

IJ9-47131-0460

PIN

17

IJ9-47133-0170

PLATE

18

IJ9-47132-0140

CLIP

19

IJ9-9911-04180

NUT

20

IJ9-0915-05180

WASHER

21

IJ9-47162-0680

PIN

22

IJ9-0911-04080

NUT

23

IJ9-09840-2790

NUT

24

IJ9-0916-47080

WASHER

25

IJ9-9911-04120

NUT

26

IJ9-0916-47080

WASHER

27

IJ9-47163-0030

CLIP

28

IJ9-42319-0420

COVER

29

IJ9-09800-7310

BOLT

30

IJ9-0915-05080

WASHER

|$32

IJ9-47600-4990

CYLINDER ASS'Y

31

IJ9-09940-4350

SPRING

32

IJ9-47624-2080

PISTON

33

IJ9-47621-0300

ROD

34

IJ1-47629-0300

REPAIR SET

35

IJ9-47631-0421

JOINT

36

IJ9-09920-0120

PACKING

37

IJ1-47634-0040

BOLT

38

IJ9-09920-0110

PACKING

39

IJ1-47615-0020

BLEEDER

40

IJ9-47619-0050

CAP

41

IJ9-47159-0500

COVER

42

IJ9-0235-10320

BOLT

43

IJ9-0915-05100

WASHER

Выбрано товаров: 46