Запчасти Komatsu PW60-1 ОСНОВНАЯ РАМА ОСНОВНАЯ РАМА И КАБИНА

Схема запчастей Komatsu PW60-1 - ОСНОВНАЯ РАМА ОСНОВНАЯ РАМА И КАБИНА
FIT
1:1
100%

Артикул

Название

Примечание

Количество

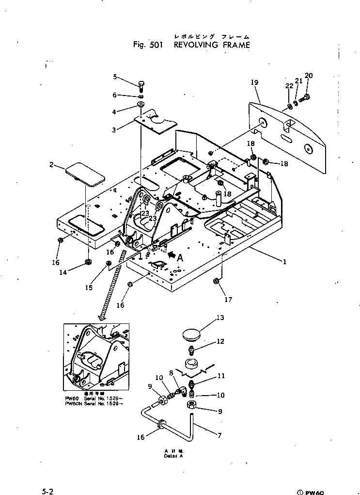
1

20B-46-21101

FRAME

1

20B-46-21100

FRAME

2

201-46-21140

COVER

3

20B-46-21170

COVER

4

201-46-23220

COLLAR

5

01010-30820

BOLT

6

01602-00825

WASHER

7

07822-00406

TUBE

8

07834-00410

ELBOW

9

07832-00410

NUT

10

07831-00411

SLEEVE

11

07836-00410

CONNECTOR

12

07020-00000

FITTING

13

20X-46-11170

CAP

14

09415-02512

CAP

15

08037-03614

GROMMET

16

08037-02512

GROMMET

17

08037-05016

GROMMET

18

08037-03620

GROMMET

19

20B-46-22110

WEIGHT

20

01011-32400

BOLT

21

01602-02472

WASHER

22

01643-32460

WASHER

23

20B-46-21180

PLATE, 1.0MM

Выбрано товаров: 24