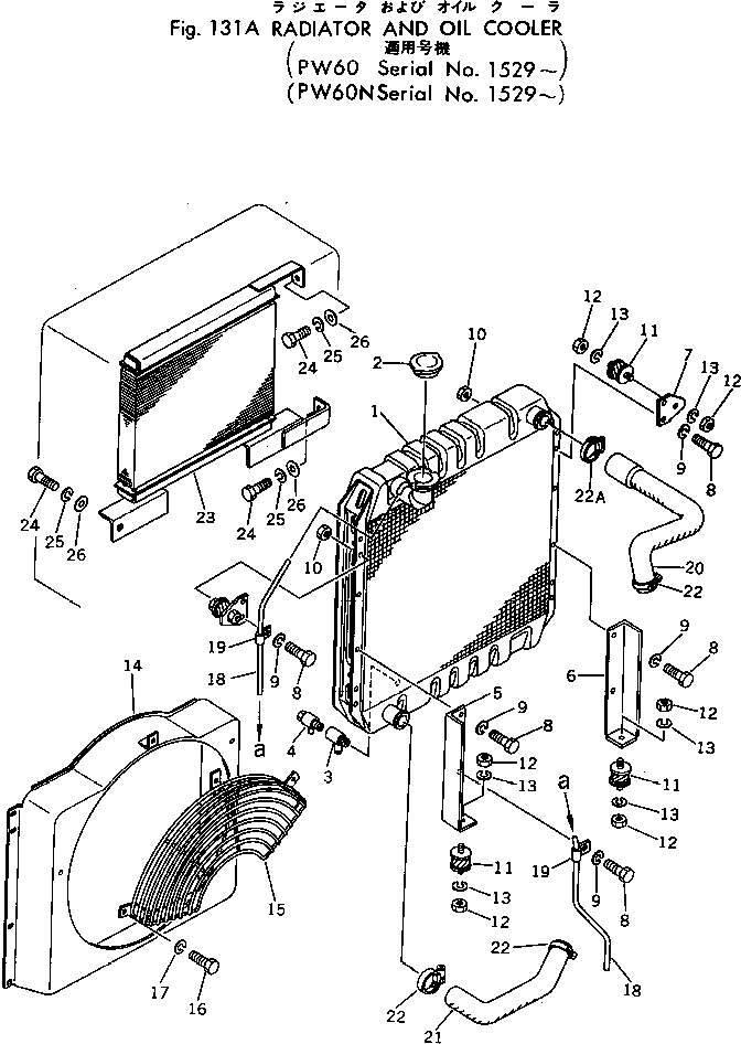
Запчасти Komatsu PW60-1 РАДИАТОР И МАСЛООХЛАДИТЕЛЬ(№9-) КОМПОНЕНТЫ ДВИГАТЕЛЯ И ЭЛЕКТРИКА

Схема запчастей Komatsu PW60-1 - РАДИАТОР И МАСЛООХЛАДИТЕЛЬ(№9-) КОМПОНЕНТЫ ДВИГАТЕЛЯ И ЭЛЕКТРИКА
FIT
1:1
100%

Артикул

Название

Примечание

Количество

|$0

201-03-00021

RADIATOR ASS'Y

1

201-03-21111

CORE ASS'Y

2

113-03-21240

CAP

3

20R-54-19120

JOINT

4

07730-10003

VALVE

5

201-03-21210

BRACKET,L.H.

6

201-03-21220

BRACKET,R.H.

7

201-03-21230

PLATE

8

01010-30820

BOLT

9

01602-00825

WASHER

10

01580-00806

NUT

11

20R-03-11190

CUSHION

12

01580-00806

NUT

13

01602-00825

WASHER

14

201-03-21121

SHROUD

15

201-03-21131

NET

15

201-03-21130

NET

16

01010-31025

BOLT

17

01602-01030

WASHER

18

113-03-21140

TUBE

19

08036-10810

CLIP

20

201-03-21161

HOSE

21

201-03-21171

HOSE

22

07281-00549

CLAMP

22A

07281-00489

CLAMP

23

20B-03-21119

OIL COOLER ASS'Y

23

20B-03-21111

OIL COOLER ASS'Y

24

01010-31025

BOLT

25

01602-01030

WASHER

26

01642-21016

WASHER

Выбрано товаров: 30