Запчасти Komatsu PW60-1 ГИДР. НАСОС. (/)(№-8) УПРАВЛ-Е РАБОЧИМ ОБОРУДОВАНИЕМ

Схема запчастей Komatsu PW60-1 - ГИДР. НАСОС. (/)(№-8) УПРАВЛ-Е РАБОЧИМ ОБОРУДОВАНИЕМ
FIT
1:1
100%

Артикул

Название

Примечание

Количество

|$0

704-52-22100

PUMP ASS'Y

|$1

704-12-29300

PUMP ASS'Y

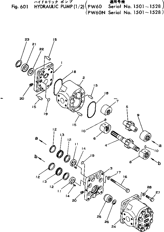
1

BRACKET

2

CASE

3

CARRIER

4

GEAR

5

GEAR

6

BUSHING

7

BUSHING

8

BUSHING

9

BUSHING

10

PIN

11

PLATE

12

RING

13

U-RING

14

PIN

15

PIN

16

BOLT

17

WASHER

18

O-RING

19

O-RING

20

PLUG

21

07426-11163

SEAL

22

704-17-02870

PLATE

23

04065-04218

RING

24

704-12-29400

PUMP ASS'Y

25

704-17-02310

COUPLING

26

04065-02012

RING

27

01010-31025

BOLT

28

01602-01030

WASHER

Выбрано товаров: 30