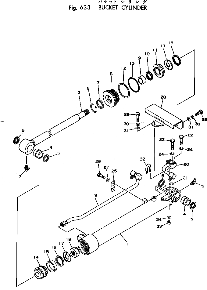
Запчасти Komatsu PW60-1 ЦИЛИНДР КОВША УПРАВЛ-Е РАБОЧИМ ОБОРУДОВАНИЕМ

Схема запчастей Komatsu PW60-1 - ЦИЛИНДР КОВША УПРАВЛ-Е РАБОЧИМ ОБОРУДОВАНИЕМ
FIT
1:1
100%

Артикул

Название

Примечание

Количество

|$0

201-63-26301

BUCKET CYLINDER A.

1

201-63-26341

CYLINDER

2

201-63-26320

ROD

3

07020-00900

FITTING

4

07144-10505

BUSHING

5

07145-00050

SEAL (KIT)

6

707-29-90500

HEAD

7

07016-00558

SEAL (KIT)

8

07179-00077

RING

9

07177-05530

BUSHING

10

130-63-12173

PACKING (KIT)

11

707-57-55530

RETAINER

12

101-63-81230

RING (KIT)

13

07000-12105

O-RING (KIT)

14

201-63-26170

PISTON

15

07155-00925

RING (KIT)

16

232-63-12451

PACKING (KIT)

17

201-63-26280

RETAINER

18

07165-13638

NUT

19

201-63-26571

TUBE

20

201-63-26580

TUBE

21

07000-13025

O-RING (KIT)

22

01010-30840

BOLT

23

01010-30850

BOLT

24

01602-00825

WASHER

25

201-63-26391

CLIP

26

01010-31020

BOLT

27

01602-01030

WASHER

28

201-63-26590

GUARD

29

01010-31025

BOLT

30

01602-01030

WASHER

31

01640-21016

WASHER

32

07283-12236

CLIP

33

01599-01011

NUT

34

01643-31032

WASHER

Выбрано товаров: 35