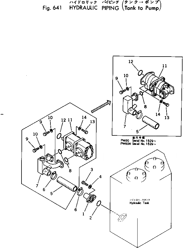
Запчасти Komatsu PW60-1 ГИДРОЛИНИЯ (ИЗ БАКА В НАСОС) УПРАВЛ-Е РАБОЧИМ ОБОРУДОВАНИЕМ

Схема запчастей Komatsu PW60-1 - ГИДРОЛИНИЯ (ИЗ БАКА В НАСОС) УПРАВЛ-Е РАБОЧИМ ОБОРУДОВАНИЕМ
FIT
1:1
100%

Артикул

Название

Примечание

Количество

1

201-62-21120

TUBE

2

07000-02060

O-RING

3

01010-31235

BOLT

4

01602-01236

WASHER

5

07260-24718

HOSE

5

07260-24722

HOSE

6

07281-00709

CLAMP

7

20B-62-21111

TUBE

7

20B-62-21110

TUBE

8

07000-03048

O-RING

8

07000-03042

O-RING

9

01010-31235

BOLT

9

01010-31030

BOLT

10

01602-01236

WASHER

10

01602-01030

WASHER

11

705-52-20010

PUMP ASS'Y

11

704-52-22100

PUMP ASS'Y

12

07000-02105

O-RING

12

07000-02065

O-RING

13

01010-31235

BOLT

13

01010-31040

BOLT

14

01643-31232

WASHER

14

01602-01030

WASHER

Выбрано товаров: 23