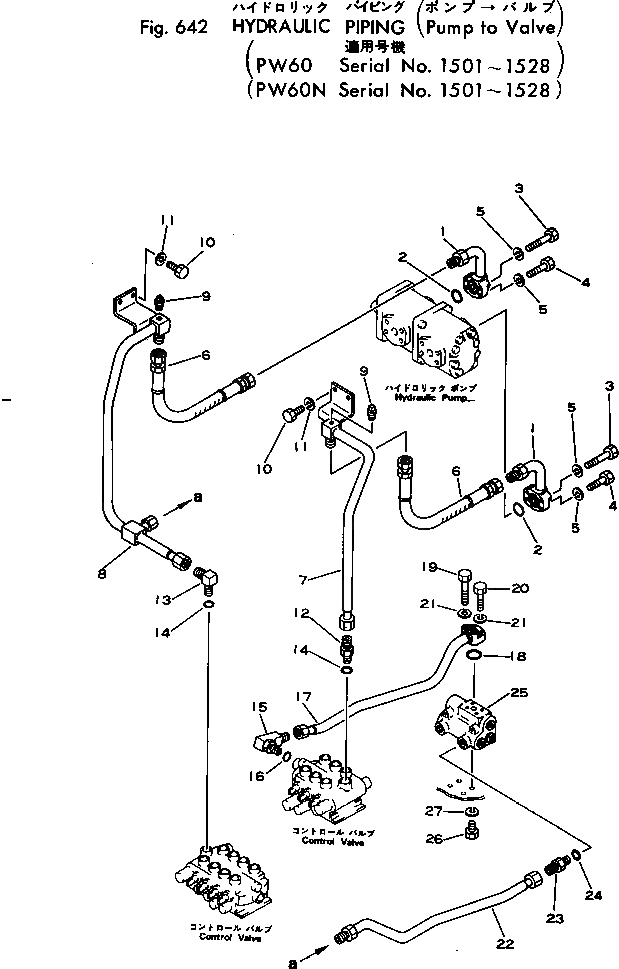
Запчасти Komatsu PW60-1 ГИДРОЛИНИЯ (ИЗ НАСОСА В КЛАПАН)(№-8) УПРАВЛ-Е РАБОЧИМ ОБОРУДОВАНИЕМ

Схема запчастей Komatsu PW60-1 - ГИДРОЛИНИЯ (ИЗ НАСОСА В КЛАПАН)(№-8) УПРАВЛ-Е РАБОЧИМ ОБОРУДОВАНИЕМ
FIT
1:1
100%

Артикул

Название

Примечание

Количество

1

201-62-21140

TUBE

2

07000-13030

O-RING

3

01010-30855

BOLT

4

01010-30840

BOLT

5

01602-00825

WASHER

6

07123-00605

HOSE

7

201-62-21150

TUBE

8

20B-62-21150

TUBE

9

07042-20108

PLUG

10

01010-31025

BOLT

11

01602-01030

WASHER

12

07230-10628

UNION

13

07235-10628

ELBOW

14

07002-12434

O-RING

15

201-62-21660

ELBOW

16

07002-12034

O-RING

17

201-62-21170

TUBE

18

07000-13025

O-RING

19

01010-30845

BOLT

20

01010-30835

BOLT

21

01602-00825

WASHER

22

201-62-21180

TUBE

23

201-62-21630

NIPPLE

24

07002-12034

O-RING

25

201-60-21100

VALVE ASS'Y

26

01010-30820

BOLT

27

01602-00825

WASHER

Выбрано товаров: 27