Запчасти Komatsu PW60-3 ТОРМОЗ. СТОПОРН. КЛАПАН(№87-) УПРАВЛ-Е РАБОЧИМ ОБОРУДОВАНИЕМ

Схема запчастей Komatsu PW60-3 - ТОРМОЗ. СТОПОРН. КЛАПАН(№87-) УПРАВЛ-Е РАБОЧИМ ОБОРУДОВАНИЕМ
FIT
1:1
100%

Артикул

Название

Примечание

Количество

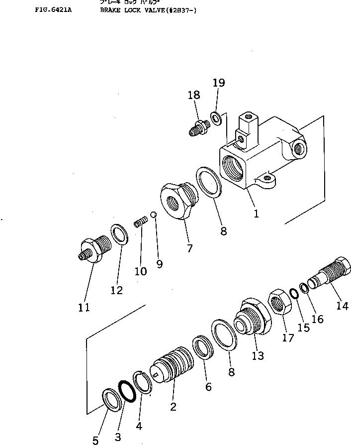
|1

20B-43-25101

VALVE ASS'Y

1

BODY

2

PISTON

3

20B-43-25281

O-RING

4

07001-03025

RING,BACK-UP

5

20B-43-33470

PACKING

6

20B-43-33480

PACKING

7

20B-43-25390

PLUG

8

20B-43-25180

GASKET

9

04260-00793

BALL,STEEL

10

195-15-15680

SPRING

11

20B-43-25140

NIPPLE

12

20B-43-25160

GASKET

13

20B-43-25120

PLUG

14

20B-43-25220

BOLT

15

07000-12010

O-RING

16

07001-02010

RING,BACK-UP

17

01583-12012

NUT

18

20B-43-25150

NIPPLE

19

20B-43-25170

GASKET

Выбрано товаров: 20