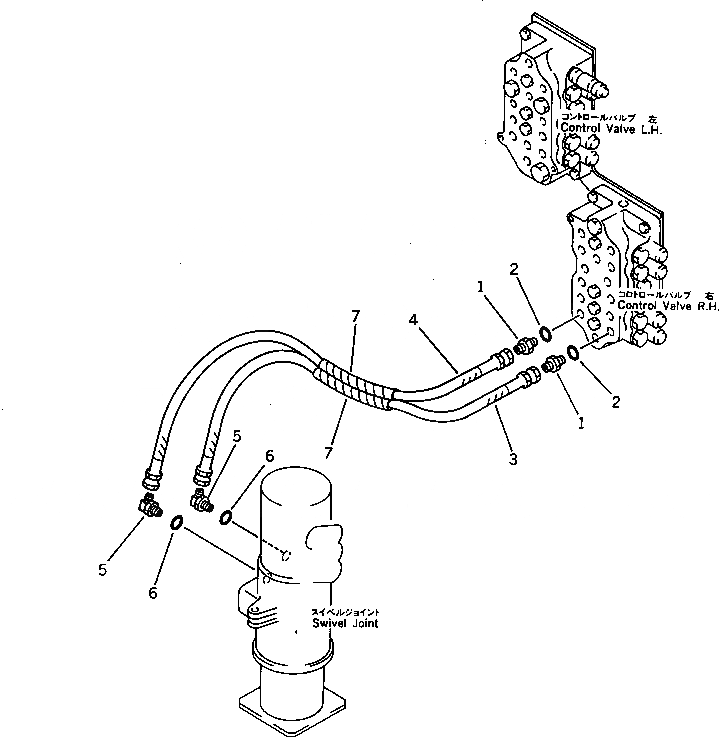
Запчасти Komatsu PW60-3 ОТВАЛ ТРУБЫ (/) УПРАВЛ-Е РАБОЧИМ ОБОРУДОВАНИЕМ

Схема запчастей Komatsu PW60-3 - ОТВАЛ ТРУБЫ (/) УПРАВЛ-Е РАБОЧИМ ОБОРУДОВАНИЕМ
FIT
1:1
100%

Артикул

Название

Примечание

Количество

1

07230-20422

UNION

2

07002-12034

O-RING

3

07096-00407

HOSE

4

07096-00408

HOSE

5

07235-10422

ELBOW

6

07002-12034

O-RING

7

203-62-32440

COVER

Выбрано товаров: 7