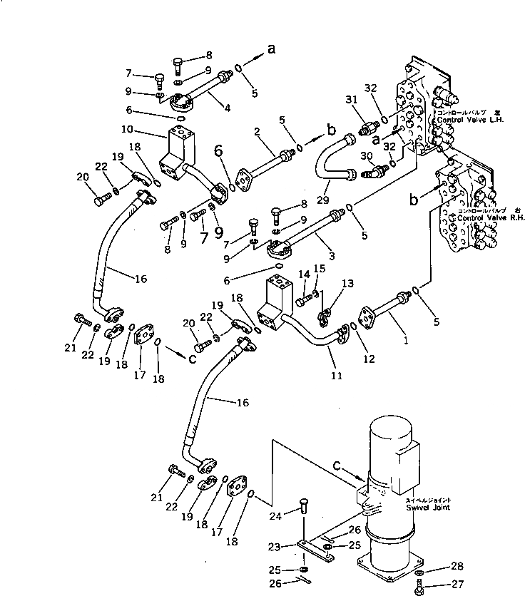
Запчасти Komatsu PW60-3 МОТОР ХОДА ТРУБЫ (/)(УПРАВЛЯЮЩ. КЛАПАН TO/FROM ПОВОРОТНОЕ СОЕДИНЕНИЕ) УПРАВЛ-Е РАБОЧИМ ОБОРУДОВАНИЕМ

Схема запчастей Komatsu PW60-3 - МОТОР ХОДА ТРУБЫ (/)(УПРАВЛЯЮЩ. КЛАПАН TO/FROM ПОВОРОТНОЕ СОЕДИНЕНИЕ) УПРАВЛ-Е РАБОЧИМ ОБОРУДОВАНИЕМ
FIT
1:1
100%

Артикул

Название

Примечание

Количество

1

20B-62-31280

TUBE

2

20B-62-31270

TUBE

3

20B-62-31260

TUBE

4

20B-62-31250

TUBE

5

07002-12034

O-RING

6

07000-13025

O-RING

7

01010-50840

BOLT

8

01010-50845

BOLT

9

01602-20825

WASHER,SPRING

10

20B-62-31322

TUBE

11

20B-62-31312

TUBE

12

07000-13022

O-RING

13

07371-30500

FLANGE,SPLIT

14

01010-50830

BOLT

15

01602-20825

WASHER,SPRING

16

07098-01006

HOSE

17

07373-01000

SPACER

18

07000-13032

O-RING

19

07371-31049

FLANGE,SPLIT

20

07372-21030

BOLT

21

07372-21050

BOLT

22

01602-21030

WASHER,SPRING

23

201-60-11240

LINK

24

201-60-11230

PIN

25

01641-21626

WASHER

26

04050-14030

PIN,COTTER

27

01010-51225

BOLT

28

01643-31232

WASHER

29

20B-62-31710

TUBE

30

20B-62-31610

ELBOW

31

20X-62-21330

NIPPLE

32

07002-12034

O-RING

Выбрано товаров: 0