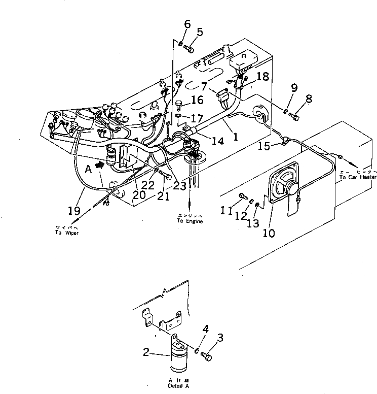
Запчасти Komatsu PW60-3 ПАНЕЛЬ ПРИБОРОВ (/) КОМПОНЕНТЫ ДВИГАТЕЛЯ И ЭЛЕКТРИКА

Схема запчастей Komatsu PW60-3 - ПАНЕЛЬ ПРИБОРОВ (/) КОМПОНЕНТЫ ДВИГАТЕЛЯ И ЭЛЕКТРИКА
FIT
1:1
100%

Артикул

Название

Примечание

Количество

1

20B-06-34111

WIRE ASS'Y

|1

22W-06-13590

DIODE

2

08077-22400

FLASHER,TURN SIGNAL

3

01010-50812

BOLT

4

01602-20825

WASHER,SPRING

5

01010-50610

BOLT

6

01602-20619

WASHER,SPRING

7

08163-02400

RELAY,HORN

8

01010-50612

BOLT

9

01602-20619

WASHER,SPRING

10

20G-06-15120

SPEAKER

11

01220-40420

SCREW

12

01601-20410

WASHER,SPRING

13

01641-20405

WASHER

14

08036-01814

CLIP

15

08036-10814

CLIP

16

01010-51016

BOLT

17

01602-21030

WASHER,SPRING

18

08034-00414

BAND

19

08604-45025

CABLE

20

20B-06-32120

TIMER ASS'Y

21

01010-50612

BOLT

22

01643-30623

WASHER

23

08034-00519

BAND

Выбрано товаров: 0