Запчасти Komatsu PW60-3 МЕХ-М УПРАВЛ-Я РАБОЧ. ОБОРУД-EM (/) (ДЛЯ ОТВАЛ) СИСТЕМА УПРАВЛЕНИЯ

Схема запчастей Komatsu PW60-3 - МЕХ-М УПРАВЛ-Я РАБОЧ. ОБОРУД-EM (/) (ДЛЯ ОТВАЛ) СИСТЕМА УПРАВЛЕНИЯ
FIT
1:1
100%

Артикул

Название

Примечание

Количество

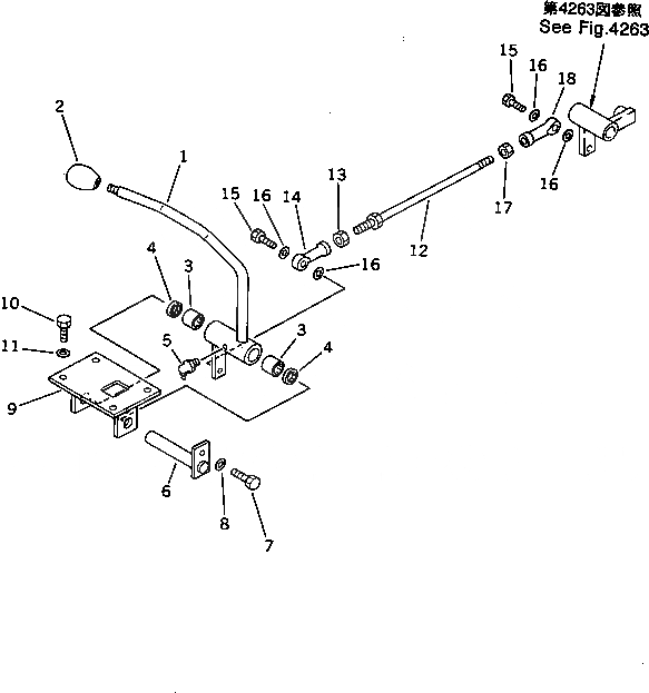
1

20B-43-31320

LEVER

2

205-43-62570

KNOB

3

06120-02016

BEARING

4

06122-02004

SEAL,DUST

5

07020-00900

FITTING,GREASE

6

20D-43-41320

SHAFT

7

01010-51020

BOLT

8

01643-31032

WASHER

9

201-910-5590

BRACKET

10

01010-51025

BOLT

11

01643-31032

WASHER

12

04248-31022

ROD

13

01582-11008

NUT

14

04250-41056

END,ROD

15

01010-51030

BOLT

16

01643-31032

WASHER

17

01508-41006

NUT,L.H. THREAD

18

04250-61056

END,ROD¤ L.H. THREAD

Выбрано товаров: 18