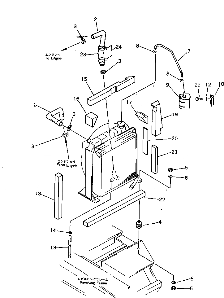
Запчасти Komatsu PW60-3 КРЕПЛЕНИЕ РАДИАТОРА И ТРУБЫ(№-) КОМПОНЕНТЫ ДВИГАТЕЛЯ И ЭЛЕКТРИКА

Схема запчастей Komatsu PW60-3 - КРЕПЛЕНИЕ РАДИАТОРА И ТРУБЫ(№-) КОМПОНЕНТЫ ДВИГАТЕЛЯ И ЭЛЕКТРИКА
FIT
1:1
100%

Артикул

Название

Примечание

Количество

1

20X-03-21130

HOSE

2

20X-03-21140

HOSE

3

07281-00489

CLAMP

4

20S-03-11330

CUSHION

5

01580-21008

NUT

6

01643-31032

WASHER

7

20X-03-21290

HOSE

8

206-03-43340

CLIP

9

362-03-14110

TANK

|9

362-03-31160

CAP

10

362-03-14120

BRACKET

11

01010-50616

BOLT

12

01643-30623

WASHER

13

203-03-41410

HOSE

14

07280-01010

CLAMP

15

20X-03-21220

SHEET

16

20X-03-21210

SHEET

17

20X-03-21230

SHEET

18

20X-03-21270

SHEET

19

201-03-51280

SHEET

20

20B-03-32120

SHEET

21

20X-03-21260

SHEET

22

20X-03-21250

SHEET

23

201-03-51320

SEAT

24

08034-00823

BAND

Выбрано товаров: 25