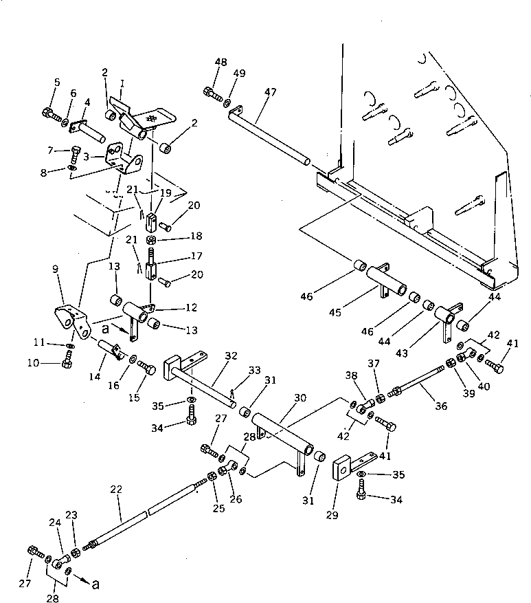
Запчасти Komatsu PW60-3 МЕХ-М УПРАВЛ-Я (/) (ДОПОЛН. ГИДРАВЛ КОНТУР) СИСТЕМА УПРАВЛЕНИЯ

Схема запчастей Komatsu PW60-3 - МЕХ-М УПРАВЛ-Я (/) (ДОПОЛН. ГИДРАВЛ КОНТУР) СИСТЕМА УПРАВЛЕНИЯ
FIT
1:1
100%

Артикул

Название

Примечание

Количество

1

20D-973-1110

PEDAL

2

195-61-34130

BEARING

3

20G-973-1490

BRACKET

4

20D-973-1180

PIN

5

01010-50820

BOLT

6

01643-30823

WASHER

7

01010-51030

BOLT

8

01643-31032

WASHER

9

20G-973-1120

BRACKET

10

01010-51020

BOLT

11

01643-31032

WASHER

12

20B-973-3540

LEVER

13

195-61-34130

BEARING

14

20D-973-1170

PIN

15

01010-50820

BOLT

16

01643-30823

WASHER

17

04244-41008

ROD

18

01582-11008

NUT

19

04210-21040

YOKE

20

04205-11030

PIN

21

04050-13015

PIN,COTTER

22

20B-973-3460

ROD

23

01582-11008

NUT

24

04250-41056

END

25

01508-41006

NUT,L.H. THREAD

26

04250-61056

END,L.H. THREAD

27

01010-51030

BOLT

28

01643-31032

WASHER

29

20B-973-3520

BRACKET

30

20B-973-3530

LEVER

31

195-61-34130

BEARING

32

20B-973-3510

SHAFT

33

04050-13040

PIN,COTTER

34

01010-51030

BOLT

35

01643-31032

WASHER

36

04248-31022

ROD

37

01582-11008

NUT

38

04250-41056

END

39

01508-41006

NUT,L.H. THREAD

40

04250-51056

END,L.H. THREAD

41

01010-51030

BOLT

42

01643-31032

WASHER

43

20B-973-3490

LEVER

44

195-61-34120

BEARING

45

20B-973-3480

LEVER

46

195-61-34120

BEARING

47

20X-43-21141

SHAFT

48

01010-51016

BOLT

49

01643-31032

WASHER

Выбрано товаров: 0