Запчасти Komatsu PW60-3 ШАССИ (/) ШАССИ¤ ОСНОВНАЯ РАМА И КАБИНА

Схема запчастей Komatsu PW60-3 - ШАССИ (/) ШАССИ¤ ОСНОВНАЯ РАМА И КАБИНА
FIT
1:1
100%

Артикул

Название

Примечание

Количество

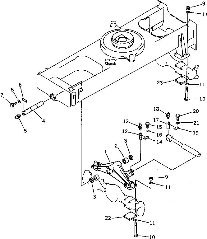
1

20B-47-32112

BRACKET

|1

20B-47-32110

BRACKET

2

20B-47-12120

BUSHING

3

07145-00055

SEAL,DUST

4

20B-47-32120

PIN

5

07020-00000

FITTING,GREASE

6

04082-00212

LOCK

7

01010-51225

BOLT

8

01602-21236

WASHER,SPRING

9

01582-11613

NUT

10

01051-51690

BOLT

|10

01051-51685

BOLT

|10

20B-47-31370

BOLT

11

01643-31645

WASHER

12

20B-47-32130

PIN

13

07020-00675

FITTING,GREASE

14

20D-27-11120

LOCK

15

01010-51020

BOLT

16

01602-21030

WASHER,SPRING

17

20B-47-32140

PIN

18

07020-00000

FITTING,GREASE

19

20D-27-11120

LOCK

20

01010-51020

BOLT

21

01643-31032

WASHER

22

20B-47-31350

PLATE

23

20B-47-31360

PLATE

Выбрано товаров: 26