Запчасти Komatsu PW60-3 ОСНОВНАЯ РАМА ШАССИ¤ ОСНОВНАЯ РАМА И КАБИНА

Схема запчастей Komatsu PW60-3 - ОСНОВНАЯ РАМА ШАССИ¤ ОСНОВНАЯ РАМА И КАБИНА
FIT
1:1
100%

Артикул

Название

Примечание

Количество

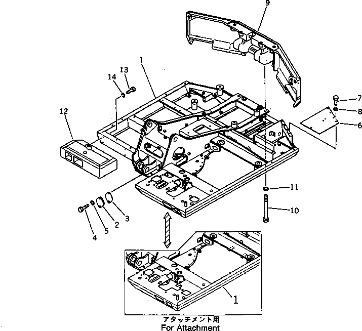
1

20B-974-3110

REVOLVING FRAME A.

|1

20B-46-31100

REVOLVING FRAME A.

|1

20B-973-3441

REVOLVING FRAME A.,(FOR ATTACHMENT)

|1

20B-973-3440

REVOLVING FRAME A.,(FOR ATTACHMENT)

2

203-46-31131

COVER

3

203-46-31181

GASKET

4

01010-51230

BOLT

5

01643-31232

WASHER

6

20B-46-31140

COVER

7

01010-51020

BOLT

8

01602-21030

WASHER,SPRING

9

20B-46-32110

WEIGHT,COUNTER

10

01011-52070

BOLT

11

01643-32060

WASHER

12

20B-46-31150

BRACKET

13

01010-51025

BOLT

14

01602-21030

WASHER,SPRING

Выбрано товаров: 17