Запчасти Komatsu PW60-3 MACHINERY ОБСТАНОВКА (/) ШАССИ¤ ОСНОВНАЯ РАМА И КАБИНА

Схема запчастей Komatsu PW60-3 - MACHINERY ОБСТАНОВКА (/) ШАССИ¤ ОСНОВНАЯ РАМА И КАБИНА
FIT
1:1
100%

Артикул

Название

Примечание

Количество

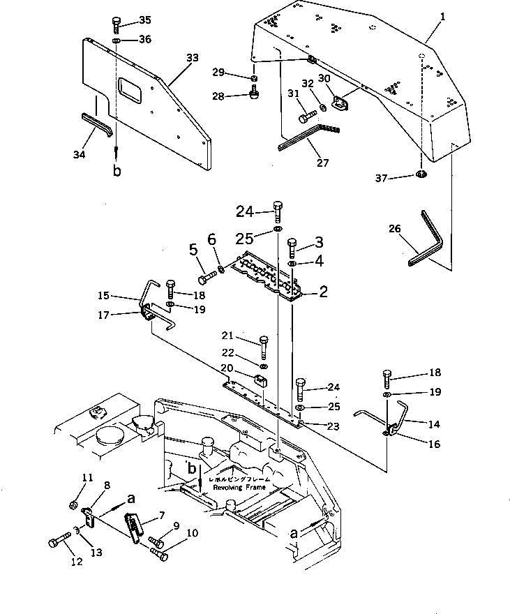
|1

20X-54-00201

MACHINE CAB ASS'Y

1

HOOD

2

20X-54-21121

HINGE

3

01010-51025

BOLT

4

144-854-1890

WASHER

5

01010-51022

BOLT

6

01643-31032

WASHER

7

20X-54-21221

STAY

8

20X-54-21210

BRACKET

9

20R-54-21450

BOLT

10

20R-54-21440

BOLT

11

01580-11008

NUT

12

01010-51030

BOLT

13

01643-31032

WASHER

14

20X-54-21140

BAR,TORSION¤ L.H.

15

20X-54-21150

BAR,TORSION¤ R.H.

16

20X-54-21161

BRACKET,L.H.

17

20X-54-21171

BRACKET,R.H.

18

01010-51025

BOLT

19

01643-31032

WASHER

20

20X-54-21182

HOLDER

21

01010-51065

BOLT

22

01643-31032

WASHER

23

20X-54-21131

BRACKET

24

01010-51240

BOLT

25

01643-31232

WASHER

26

20X-54-21240

TRIM,L.H.

27

20X-54-21250

TRIM,R.H.

28

201-54-21360

CUSHION

29

01580-10504

NUT

30

21K-54-26320

BRACKET

31

01010-51025

BOLT

32

01643-31032

WASHER

33

20B-54-31110

COVER

34

20X-54-21370

TRIM

35

01010-51020

BOLT

36

01643-31032

WASHER

37

09414-00053

CAP

Выбрано товаров: 38