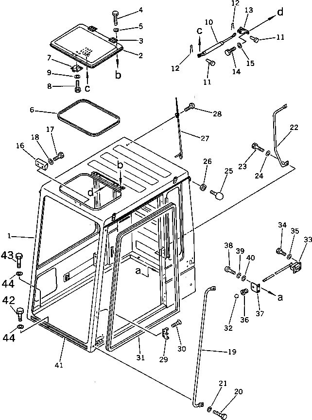
Запчасти Komatsu PW60-3 КАБИНА (/) ШАССИ¤ ОСНОВНАЯ РАМА И КАБИНА

Схема запчастей Komatsu PW60-3 - КАБИНА (/) ШАССИ¤ ОСНОВНАЯ РАМА И КАБИНА
FIT
1:1
100%

Артикул

Название

Примечание

Количество

|1

20D-54-00131

OPERATOR'S CAB ASS'Y

|1

20D-54-00130

OPERATOR'S CAB ASS'Y

1

205-54-71114

CAB

2

205-54-71142

COVER

3

205-54-72680

HINGE (WELDED)

4

01010-50612

BOLT

5

01643-30623

WASHER

6

205-54-71551

SEAL

7

205-54-72470

LOCK ASS'Y

8

01010-50616

BOLT

9

01643-30623

WASHER

10

205-54-63650

GAS SPRING ASS'Y

11

04205-10825

PIN

12

04050-12012

PIN,COTTER

13

205-54-72511

BRACKET

14

01010-50616

BOLT

15

01643-30623

WASHER

16

205-54-72520

BRACKET

17

01010-50616

BOLT

18

01643-30623

WASHER

19

205-54-72531

GRIP

20

01010-51025

BOLT

21

01643-31032

WASHER

22

205-54-72541

GRIP

23

01010-51025

BOLT

24

01643-31032

WASHER

25

09453-00002

STOPPER

26

01580-11210

NUT

27

205-06-62350

ANTENNA ASS'Y

28

01220-40420

SCREW

29

205-54-71731

STRIKER

30

01224-40820

SCREW

31

205-54-71560

TRIM

32

205-54-72840

KNOB

33

20G-54-12110

LOCK ASS'Y

34

01010-50620

BOLT

35

01643-30623

WASHER

36

205-54-72830

GROMMET

37

20G-54-12120

BRACKET

38

01220-40620

SCREW

39

01602-20619

WASHER,SPRING

40

01641-20608

WASHER

41

205-54-76480

PLATE (WELDED)

42

01010-51245

BOLT

43

01010-51265

BOLT

44

01643-31232

WASHER

Выбрано товаров: 46