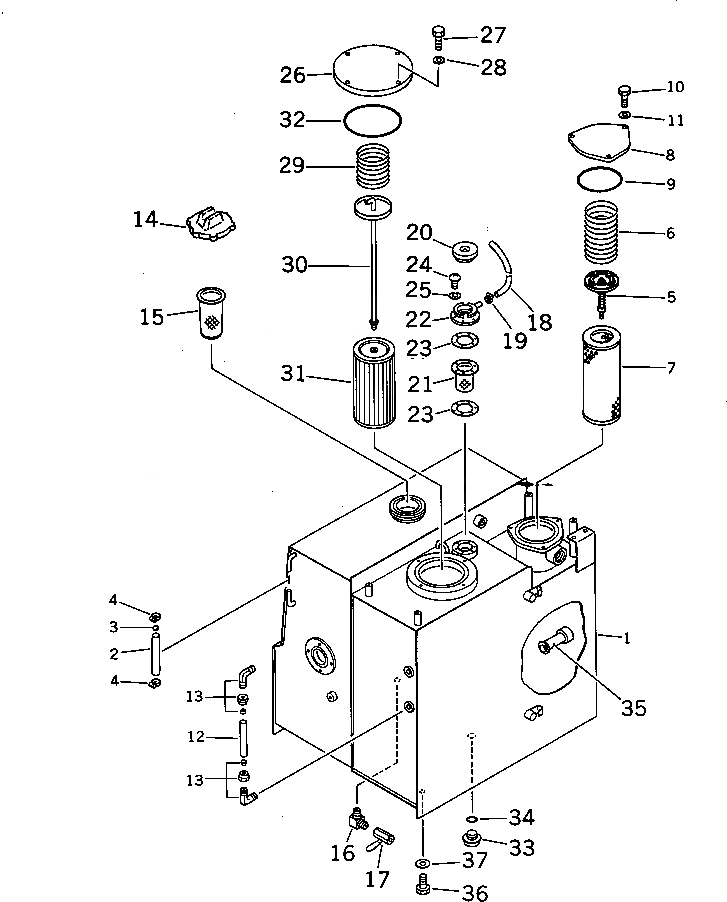
Запчасти Komatsu PW60-3 ГИДРАВЛ МАСЛ. И ТОПЛИВН. БАК. УПРАВЛ-Е РАБОЧИМ ОБОРУДОВАНИЕМ

Схема запчастей Komatsu PW60-3 - ГИДРАВЛ МАСЛ. И ТОПЛИВН. БАК. УПРАВЛ-Е РАБОЧИМ ОБОРУДОВАНИЕМ
FIT
1:1
100%

Артикул

Название

Примечание

Количество

|$0

20B-60-00010

TANK ASS'Y

1

20B-60-32110

TANK

2

203-60-42180

TUBE

3

201-04-21160

BALL,FLOAT

4

07281-00197

CLAMP

5

125-62-21150

VALVE ASS'Y

6

20X-60-22140

SPRING

7

154-60-12170

ELEMENT

8

20X-60-22150

COVER

9

07000-02135

O-RING

10

01010-51025

BOLT

11

01643-31032

WASHER

12

203-60-31160

TUBE

13

203-60-31100

ELBOW ASS'Y

14

07050-20900

CAP

15

07056-16415

STRAINER

16

20D-68-11670

ELBOW

17

07700-40240

VALVE

18

203-60-12170

TUBE

19

07280-01110

CLAMP

20

201-60-12190

CAP ASS'Y

21

205-60-51480

SCREEN

22

201-60-12171

FILLER

23

205-60-51460

GASKET

24

01220-40516

SCREW

25

01601-20513

WASHER,SPRING

26

20X-60-22130

COVER

27

01010-51025

BOLT

28

01643-31032

WASHER

29

125-62-21170

SPRING

30

20X-60-22120

ROD

31

203-60-21141

STRAINER

32

07000-02135

O-RING

33

07044-12412

PLUG

34

07002-02434

O-RING

35

20G-60-11210

FILTER

36

01010-51230

BOLT

37

01643-31232

WASHER

Выбрано товаров: 38