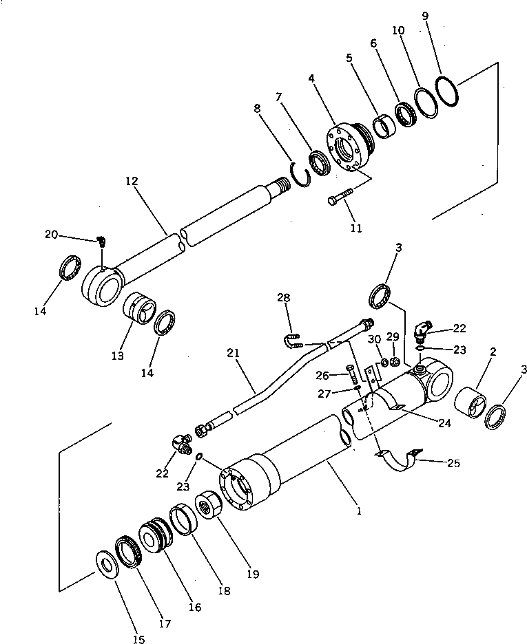
Запчасти Komatsu PW60-3 ЦИЛИНДР РУКОЯТИ УПРАВЛ-Е РАБОЧИМ ОБОРУДОВАНИЕМ

Схема запчастей Komatsu PW60-3 - ЦИЛИНДР РУКОЯТИ УПРАВЛ-Е РАБОЧИМ ОБОРУДОВАНИЕМ
FIT
1:1
100%

Артикул

Название

Примечание

Количество

|$0

20B-63-02010

CYLINDER ASS'Y,\

1

20B-63-66141

CYLINDER

2

707-76-60180

BUSHING

3

07145-00060

SEAL,DUST

4

707-27-90270

HEAD,CYLINDER

5

07177-06030

BUSHING

6

707-51-60211

PACKING,ROD

7

141-63-93270

SEAL,DUST

8

07179-00082

RING,SNAP

9

07000-12090

O-RING

10

07001-02090

RING,BACK-UP

11

01010-81450

BOLT

12

20B-63-66121

ROD,PISTON

13

707-76-60080

BUSHING

14

07145-00060

SEAL,DUST

15

707-41-10060

PLATE

16

707-36-90371

PISTON

17

707-44-90080

RING,PISTON

18

07155-00925

RING,WEAR

19

07165-14244

NUT

20

07020-00675

FITTING,GREASE

21

20B-63-66171

TUBE

22

07235-10422

ELBOW

23

07002-12034

O-RING

24

707-88-99880

BAND

25

707-88-99960

BAND

26

01010-51035

BOLT

27

01602-21030

WASHER,SPRING

28

07283-22236

CLIP

29

01599-01011

NUT

30

01643-31032

WASHER

Выбрано товаров: 31