Качественные детали и логистика
Оригинальные и аналоговые запчасти с доставкой по России, Казахстану и Беларуси
©2022 PartSell ООО "Система" ИНН 2463123282 ОГРН 1212400004838
Центральный офис: г. Красноярск, Академика Киренского, д.87, пом.4
Телефон: 8 (800) 777-65-74 Email: zakaz@partsell.ru
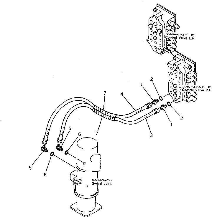
ОТВАЛ ТРУБЫ (/)
№
Артикул
Название
Примечание
Количество
1
07230-20422
UNION
2
07002-12034
O-RING
3
07096-00407
HOSE
4
07096-00408
5
07235-10422
ELBOW
6
7
203-62-32440
COVER
Выбрано товаров: 0