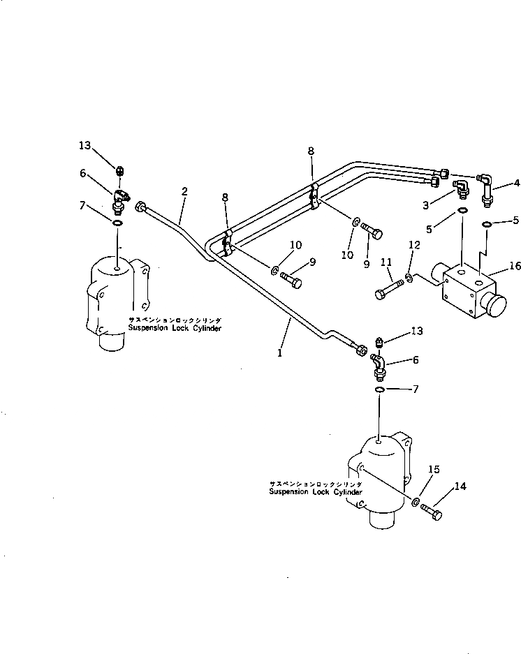
Запчасти Komatsu PW60-3 ПОДВЕСКА ТРУБЫ УПРАВЛ-Е РАБОЧИМ ОБОРУДОВАНИЕМ

Схема запчастей Komatsu PW60-3 - ПОДВЕСКА ТРУБЫ УПРАВЛ-Е РАБОЧИМ ОБОРУДОВАНИЕМ
FIT
1:1
100%

Артикул

Название

Примечание

Количество

1

20B-62-32331

TUBE

2

20B-62-32341

TUBE

3

07235-10315

ELBOW

4

20R-62-11360

ELBOW

5

07002-12034

O-RING

6

20B-62-32380

ELBOW

7

07002-12034

O-RING

8

12F-62-33331

CLAMP

9

01010-51030

BOLT

10

01602-21030

WASHER,SPRING

11

01010-50880

BOLT

12

01602-20825

WASHER,SPRING

13

07042-20108

PLUG

14

01010-52080

BOLT

15

01643-32060

WASHER

16

20B-60-31110

VALVE ASS'Y,SUSPENSION LOCK

Выбрано товаров: 16