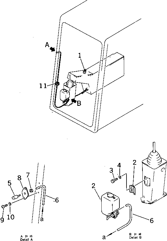
Запчасти Komatsu PW60-3 ОМЫВАТЕЛЬ СТЕКЛА(№-) КОМПОНЕНТЫ ДВИГАТЕЛЯ И ЭЛЕКТРИКА

Схема запчастей Komatsu PW60-3 - ОМЫВАТЕЛЬ СТЕКЛА(№-) КОМПОНЕНТЫ ДВИГАТЕЛЯ И ЭЛЕКТРИКА
FIT
1:1
100%

Артикул

Название

Примечание

Количество

1

205-06-71670

KNOB

2

206-06-15230

TANK

3

01010-50612

BOLT

4

01643-30623

WASHER

5

205-06-61220

NOZZLE ASS'Y

6

205-06-71470

HOSE

7

205-06-71610

NUT

8

205-06-71590

BRACKET

9

01220-40412

SCREW

10

01601-20410

WASHER,SPRING

11

201-54-22890

GROMMET

Выбрано товаров: 11