Запчасти Komatsu PW60-3 КАБИНА (/) (ДЛЯ США) ШАССИ¤ ОСНОВНАЯ РАМА И КАБИНА

Схема запчастей Komatsu PW60-3 - КАБИНА (/) (ДЛЯ США) ШАССИ¤ ОСНОВНАЯ РАМА И КАБИНА
FIT
1:1
100%

Артикул

Название

Примечание

Количество

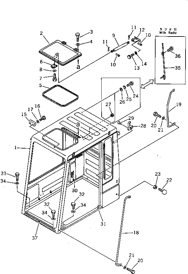
|$0

20D-54-00151

OPERATOR'S CAB ASS'Y

|$1

20D-54-00150

OPERATOR'S CAB ASS'Y

1

20G-54-12190

CAB

2

205-54-71142

COVER

2

205-54-72680

HINGE (WELDED)

3

01010-50612

BOLT

4

01643-30623

WASHER

5

205-54-71551

SEAL

6

205-54-72470

LOCK ASS'Y

7

01010-50616

BOLT

8

01643-30623

WASHER

9

205-54-63650

GAS SPRING ASS'Y

10

04205-10825

PIN

11

04050-12012

PIN,COTTER

12

205-54-72511

BRACKET

13

01010-50616

BOLT

14

01643-30623

WASHER

15

205-54-72520

BRACKET

16

01010-50616

BOLT

17

01643-30623

WASHER

18

205-54-72531

GRIP

19

205-54-72541

GRIP

20

01010-51025

BOLT

21

01643-31032

WASHER

22

09453-00002

STOPPER

23

01580-11210

NUT

24

01220-40410

SCREW

25

01601-20410

WASHER,SPRING

26

01641-20405

WASHER

27

09415-00706

CAP

28

205-54-51250

HANGER

29

01370-00412

SCREW

30

205-54-72710

CLIP

31

203-54-44980

RUBBER

32

01010-51245

BOLT

33

01010-51265

BOLT

34

01643-31232

WASHER

35

205-06-62350

ANTENNA ASS'Y

36

01220-40420

SCREW

37

205-54-76480

PLATE (WELDED)

Выбрано товаров: 40