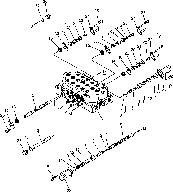
Запчасти Komatsu PW60S-3 УПРАВЛЯЮЩ. КЛАПАН¤ ПРАВ. (/) УПРАВЛ-Е РАБОЧИМ ОБОРУДОВАНИЕМ

Схема запчастей Komatsu PW60S-3 - УПРАВЛЯЮЩ. КЛАПАН¤ ПРАВ. (/) УПРАВЛ-Е РАБОЧИМ ОБОРУДОВАНИЕМ
FIT
1:1
100%

Артикул

Название

Примечание

Количество

|1

709-25-11602

VALVE ASS'Y,R.H.

|1

709-25-11601

VALVE ASS'Y,R.H.

|1

709-25-11600

VALVE ASS'Y,R.H.

1

BODY

|1

BODY

2

SPOOL,OUTRIGGER

3

SPOOL

4

SPOOL,BOOM

5

SPOOL,BUCKET

6

SPOOL,R.H. TRAVEL

7

709-24-11340

JOINT

8

07000-11003

O-RING

9

07001-01003

RING,BACK-UP

10

709-24-11320

PLATE

11

709-24-11350

SPRING

12

709-24-11331

COVER

13

709-24-11360

SPRING

14

07000-03022

O-RING

15

01252-30620

BOLT

16

709-25-11290

SEAL

17

709-25-11320

PLATE

18

709-25-11310

PLATE

19

700-23-13130

SPRING

20

700-22-11311

SPRING

21

700-22-11291

RETAINER

22

700-22-11321

PLUG

23

709-25-11330

PLUG

24

700-22-11332

COVER

|24

700-22-11331

COVER

25

01252-30616

BOLT

26

700-22-11370

PLUG

27

07002-02434

O-RING

28

709-25-11492

CASE

29

709-25-11482

CASE

Выбрано товаров: 34