Запчасти Komatsu PW60S-3 УПРАВЛЯЮЩ. КЛАПАН¤ ПРАВ. (/) УПРАВЛ-Е РАБОЧИМ ОБОРУДОВАНИЕМ

Схема запчастей Komatsu PW60S-3 - УПРАВЛЯЮЩ. КЛАПАН¤ ПРАВ. (/) УПРАВЛ-Е РАБОЧИМ ОБОРУДОВАНИЕМ
FIT
1:1
100%

Артикул

Название

Примечание

Количество

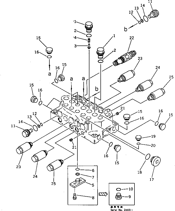
|1

709-25-11602

VALVE ASS'Y,R.H.

|1

709-25-11601

VALVE ASS'Y,R.H.

|1

709-25-11600

VALVE ASS'Y,R.H.

1

709-25-11640

PLUG

|1

709-25-11612

PLUG

2

07000-12020

O-RING

3

709-25-11650

VALVE

|3

709-25-11350

VALVE

4

709-25-11361

SPRING

5

709-25-11471

PLATE

6

700-22-11410

O-RING

7

700-80-64220

RING,BACK-UP

8

01010-50620

BOLT

9

708-7B-16570

PLUG

|9

07040-12012

PLUG

10

07002-12034

O-RING

11

709-25-11380

PLUG

12

07000-12010

O-RING

13

07001-02010

RING,BACK-UP

14

709-25-11390

O-RING

15

708-7B-16570

PLUG

|15

07040-12012

PLUG

|15

701-30-63130

PLUG

16

07002-12034

O-RING

17

07040-13016

PLUG

18

07002-03034

O-RING

19

07040-11409

PLUG

20

07002-01423

O-RING

21

07043-70108

PLUG

22

709-20-51302

RELIEF VALVE ASS'Y

23

709-20-61102

VALVE ASS'Y,SUCTION AND SAFETY

|23

709-20-61101

VALVE ASS'Y,SUCTION AND SAFETY

24

709-20-61201

VALVE ASS'Y,SUCTION AND SAFETY

|24

709-20-61200

VALVE ASS'Y,SUCTION AND SAFETY

25

709-20-81100

VALVE ASS'Y,SUCTION

Выбрано товаров: 35