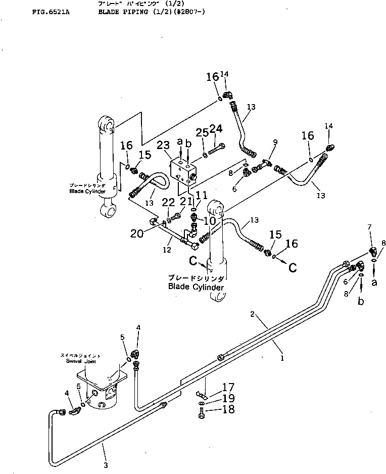
Запчасти Komatsu PW60S-3 ОТВАЛ ТРУБЫ (/)(№87-) УПРАВЛ-Е РАБОЧИМ ОБОРУДОВАНИЕМ

Схема запчастей Komatsu PW60S-3 - ОТВАЛ ТРУБЫ (/)(№87-) УПРАВЛ-Е РАБОЧИМ ОБОРУДОВАНИЕМ
FIT
1:1
100%

Артикул

Название

Примечание

Количество

1

20B-62-31470

TUBE

2

20B-62-31550

TUBE

3

20B-62-31482

TUBE

4

07235-10315

ELBOW

5

07002-12034

O-RING

6

07235-10315

ELBOW

7

20R-62-11311

ELBOW

8

07002-12034

O-RING

9

20B-62-31510

TUBE

10

07230-20315

UNION

11

07002-12034

O-RING

12

20B-62-31491

TUBE

13

07121-20304

HOSE

14

07235-10315

ELBOW

15

07230-20315

UNION

16

07002-12034

O-RING

17

114-62-23150

CLIP

18

01010-51035

BOLT

19

01602-21030

WASHER,SPRING

20

22X-61-16760

CLAMP

21

01010-51020

BOLT

22

01602-21030

WASHER,SPRING

23

21J-60-13430

CHECK VALVE ASS'Y

|23

20S-60-12120

CHECK VALVE ASS'Y

24

01010-50860

BOLT

25

01602-20825

WASHER,SPRING

Выбрано товаров: 26