Качественные детали и логистика
Оригинальные и аналоговые запчасти с доставкой по России, Казахстану и Беларуси
©2022 PartSell ООО "Система" ИНН 2463123282 ОГРН 1212400004838
Центральный офис: г. Красноярск, Академика Киренского, д.87, пом.4
Телефон: 8 (800) 777-65-74 Email: zakaz@partsell.ru
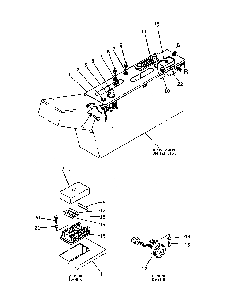
ПАНЕЛЬ ПРИБОРОВ (/)
№
Артикул
Название
Примечание
Количество
1
20B-06-32111
PANEL
2
600-815-3730
SIGNAL,HEATER
3
01010-50610
BOLT
4
01602-20619
WASHER,SPRING
5
08086-20000
SWITCH,STARTING
6
205-26-91140
SPACER
7
203-06-41860
SWITCH
8
203-06-41610
CAP,SWITCH¤ SUSPENSION LOCK
9
203-06-41680
CAP,SWITCH¤ PARKING BRAKE
10
09415-00706
CAP
11
20G-06-15112
RADIO
|11
20G-06-15110
12
175-06-51210
BUZZER
13
01220-40612
SCREW
14
15
203-06-41540
BOX,FUSE
16
08040-01000
FUSE¤ 10A
17
08040-02000
FUSE¤ 20A
18
08040-04000
FUSE¤ 40A
19
08040-03000
FUSE¤ 30A
20
01010-50816
21
01643-30823
WASHER
22
08034-00519
BAND
Выбрано товаров: 0