Запчасти Komatsu PW60S-3 ПЕДАЛЬ ТОРМОЗА И ТРУБЫ (/) УПРАВЛ-Е РАБОЧИМ ОБОРУДОВАНИЕМ

Схема запчастей Komatsu PW60S-3 - ПЕДАЛЬ ТОРМОЗА И ТРУБЫ (/) УПРАВЛ-Е РАБОЧИМ ОБОРУДОВАНИЕМ
FIT
1:1
100%

Артикул

Название

Примечание

Количество

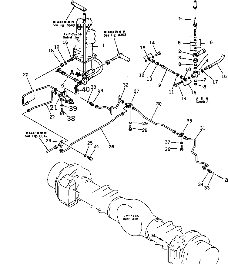
|1

20B-43-32200

JOINT ASS'Y

1

20B-43-32210

SHAFT

2

20B-43-13220

END,ROD

3

01583-02012

NUT

4

20B-43-25230

BODY

5

20B-43-25270

O-RING

6

07001-02012

RING,BACK-UP

7

20B-43-25250

WASHER

8

04064-01610

RING,SNAP

9

04248-11019

ROD

10

04250-91056

END,ROD¤ L.H. THREAD

11

01508-41006

NUT,L.H. THREAD

12

04250-81056

END,ROD

13

01582-11008

NUT

14

01010-31030

BOLT

15

04254-01032

SPACER

16

20B-43-15520

HOSE

17

20B-43-15510

PACKING

18

01582-11210

NUT

19

01602-21236

WASHER,SPRING

20

20B-43-33321

TUBE

21

20B-43-25101

VALVE ASS'Y

|21

20B-43-25100

VALVE ASS'Y

22

20B-43-33450

TUBE

23

20G-68-12670

TEE

24

01010-50820

BOLT

25

01602-20825

WASHER,SPRING

26

20B-43-33411

TUBE

27

20G-68-12670

TEE

28

01010-50820

BOLT

29

01602-20825

WASHER,SPRING

30

20B-43-33420

TUBE

31

20B-43-33431

TUBE

32

20B-43-33441

TUBE

33

20G-68-12950

O-RING

34

20G-68-12941

NIPPLE

35

20G-68-12891

NIPPLE

36

01010-50820

BOLT

37

01602-20825

WASHER,SPRING

38

01010-51020

BOLT

39

01602-21030

WASHER,SPRING

40

20B-27-11210

BLEEDER

Выбрано товаров: 42