Запчасти Komatsu PW60S-3 ДОПОЛН. ГИДРАВЛ КОНТУР (/) (НАВЕСН. ОБОРУД) УПРАВЛ-Е РАБОЧИМ ОБОРУДОВАНИЕМ

Схема запчастей Komatsu PW60S-3 - ДОПОЛН. ГИДРАВЛ КОНТУР (/) (НАВЕСН. ОБОРУД) УПРАВЛ-Е РАБОЧИМ ОБОРУДОВАНИЕМ
FIT
1:1
100%

Артикул

Название

Примечание

Количество

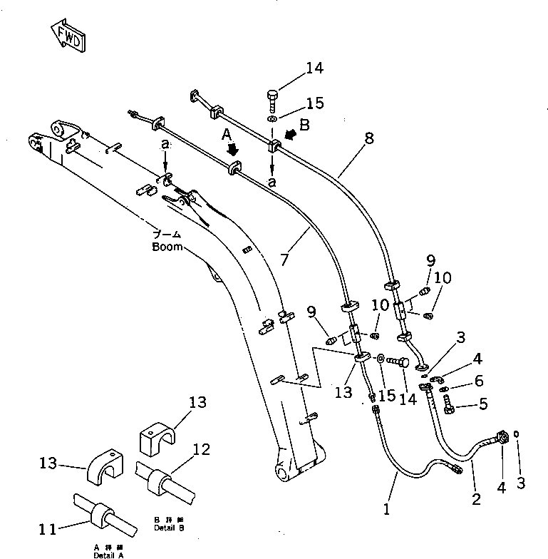
1

07086-20411

HOSE

2

07127-20612

HOSE

3

07000-13025

O-RING

4

07371-30684

FLANGE,SPLIT

5

01010-50830

BOLT

6

01643-30823

WASHER

7

201-973-5290

TUBE

8

201-973-5310

TUBE

9

07042-20108

PLUG

10

07043-00617

PLUG

11

203-62-43390

CUSHION

12

203-62-43380

CUSHION

13

203-62-43370

CLAMP

14

01010-51270

BOLT

15

01643-31232

WASHER

Выбрано товаров: 15