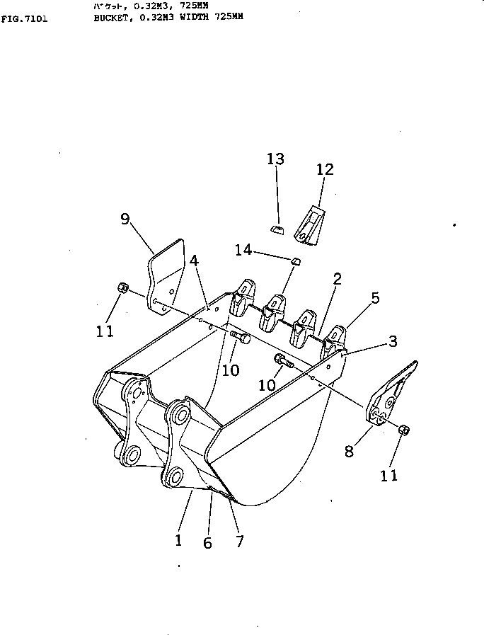
Запчасти Komatsu PW60S-3 КОВШ¤ .M ШИР. 7MM РАБОЧЕЕ ОБОРУДОВАНИЕ

Схема запчастей Komatsu PW60S-3 - КОВШ¤ .M ШИР. 7MM РАБОЧЕЕ ОБОРУДОВАНИЕ
FIT
1:1
100%

Артикул

Название

Примечание

Количество

|1

20X-70-00240

BUCKET ASS'Y

1

20X-70-23111

BUCKET

2

20X-70-23120

LIP (WELDED)

3

20X-70-23130

PLATE,L.H. (WELDED)

4

20X-70-23140

PLATE,R.H. (WELDED)

5

20X-70-23150

ADAPTER (WELDED)

6

20X-70-27130

PLATE (WELDED)

7

20X-70-27150

PLATE (WELDED)

8

20X-933-1110

SIDE CUTTER,L.H.

9

20X-933-1120

SIDE CUTTER,R.H.

10

01802-02265

BOLT

11

01803-02228

NUT

12

20X-70-23160

TOOTH

13

203-70-43212

PIN

14

203-70-43220

PIN

Выбрано товаров: 15