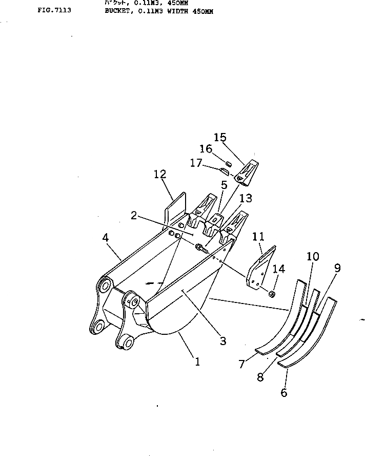
Запчасти Komatsu PW60S-3 КОВШ¤ .M ШИР. MM РАБОЧЕЕ ОБОРУДОВАНИЕ

Схема запчастей Komatsu PW60S-3 - КОВШ¤ .M ШИР. MM РАБОЧЕЕ ОБОРУДОВАНИЕ
FIT
1:1
100%

Артикул

Название

Примечание

Количество

|1

201-926-0110

BUCKET ASS'Y

1

20X-926-2410

BUCKET

2

20X-926-2420

LIP (WELDED)

3

20X-926-1331

PLATE,L.H. (WELDED)

4

20X-926-1341

PLATE,R.H. (WELDED)

5

20X-70-23150

ADAPTER (WELDED)

6

20X-926-2350

PLATE,L.H. (WELDED)

7

20X-926-2360

PLATE,R.H. (WELDED)

8

20X-926-2450

PLATE,CENTER (WELDED)

9

20X-926-2460

PLATE,L.H. (WELDED)

10

20X-926-2470

PLATE,R.H. (WELDED)

11

20X-933-1110

SIDE CUTTER,L.H.

12

20X-933-1120

SIDE CUTTER,R.H.

13

01802-02265

BOLT

14

01803-02228

NUT

15

20X-70-23160

TOOTH

16

203-70-43212

PIN

17

203-70-43220

PIN

Выбрано товаров: 18