Запчасти Komatsu PW60S-3 ЗАЩИТА ОТ ВАНДАЛИЗМА МАРКИРОВКА¤ ИНСТРУМЕНТ И РЕМКОМПЛЕКТЫ

Схема запчастей Komatsu PW60S-3 - ЗАЩИТА ОТ ВАНДАЛИЗМА МАРКИРОВКА¤ ИНСТРУМЕНТ И РЕМКОМПЛЕКТЫ
FIT
1:1
100%

Артикул

Название

Примечание

Количество

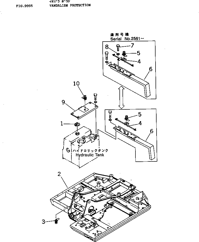
1

07091-10900

CAP,FUEL TANK

2

20B-46-31410

FRAME,REVOLVING

|2

203-46-41350

COVER (WELDED)

3

205-60-71220

LOCK ASS'Y

4

20X-54-27111

LEVER,MACHINE CAB

|4

20X-54-27110

LEVER,MACHINE CAB

5

205-60-71220

LOCK ASS'Y

6

20X-54-27121

COVER

|6

20X-54-27120

COVER

7

01010-51020

BOLT

8

01643-31032

WASHER

9

20X-54-27130

COVER ASS'Y,HYDRAULIC TANK

10

205-60-71220

LOCK ASS'Y

Выбрано товаров: 13