Запчасти Komatsu PW60S-3 ВЫС./НИЗ. РЫЧАГ УПРАВЛ-Я И МЕХАНИЗМ (/) СИСТЕМА УПРАВЛЕНИЯ

Схема запчастей Komatsu PW60S-3 - ВЫС./НИЗ. РЫЧАГ УПРАВЛ-Я И МЕХАНИЗМ (/) СИСТЕМА УПРАВЛЕНИЯ
FIT
1:1
100%

Артикул

Название

Примечание

Количество

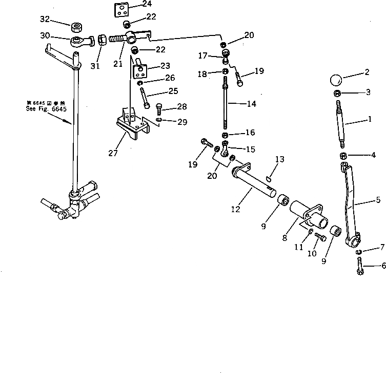
1

20B-43-32120

LEVER

2

20B-43-23321

KNOB

3

01582-11210

NUT

4

01582-11411

NUT

5

20B-43-32111

LEVER

6

01010-51245

BOLT

7

01602-21236

WASHER,SPRING

8

20B-43-32160

BOSS

9

205-43-73190

BEARING

10

01010-51025

BOLT

11

01602-21030

WASHER,SPRING

12

20B-43-32170

SHAFT

13

04010-00732

KEY

14

04248-11027

ROD

15

04250-91068

END,ROD¤ L.H. THREAD

16

01508-41006

NUT,L.H. THREAD

17

04250-81068

END,ROD

18

01582-11008

NUT

19

01010-51030

BOLT

20

01643-01032

WASHER

21

20B-43-32190

LEVER

22

195-61-34120

BEARING

23

20B-43-32140

PIN

24

20B-43-32150

PLATE

25

01010-51060

BOLT

26

01602-21030

WASHER,SPRING

27

20B-43-32131

BRACKET

28

01010-51225

BOLT

29

01602-21236

WASHER,SPRING

30

20B-43-13220

END,ROD

31

01583-12012

NUT

32

01583-12012

NUT

Выбрано товаров: 32